volver a
>
Roth / TORO
>
Ride-On Mowers
>
Traktor
>
246 HE
>
309/72101
>
3900001
>
Main Frame Assy.
Lista de repuestos para Toro Roth / TORO Main Frame Assy.
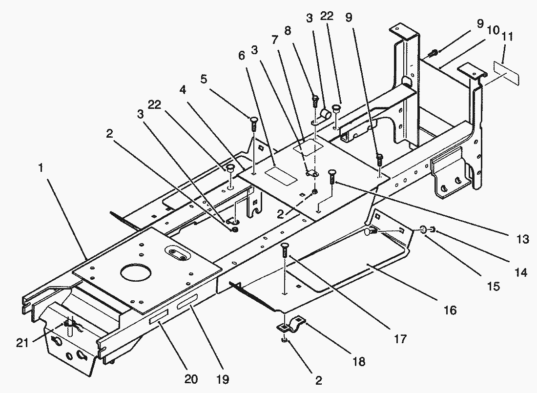
pos.
descripción
Número de pieza
92-6347
92-6348
pos.
descripción
Número de pieza
2
MUTTER
3296-29
3
Clip
100729
5
Bolt-Carriage
9002159
6
Decal-Danger Mower
79-0370
7
Decal-Parking
79-0120
8
Bolt
926696
9
S.W. Form Screw
926720
10
Panel-Rear
79-0681
11
Decal-Danger
88-2790
13
Screw-Carriage
3230-23
14
Hex Nut
3217-6
15
Washer-Lock
3254-23
16
Pad-Footrest
110636
17
Bolt-Carriage
3220-23
18
Shaft Clamp
106288
19
Decal-Belt Installations
79-7020
20
Decal-Attach-A-Matic
115197
21
Cable Tie
100571
22
Bushing
79-4050
Toro
Roth / TORO
Ride-On Mowers
Traktor
264-6
246 HE
309/72101
3900001
Electrical Schematic
Transmission Eaton Model 751-045
Engine TORO Power Plus
Fender and Seat Assy.
Hydraulic Reservoir Assy.
Rear Wheel and Transmission Assy.
Brake and Hydro Linkage
Brake Pedal Assy.
Idler and Pedal Shaft Assy.
Lift Bar Linkage Assy.
Dash Assy.
Steering Shaft and Indicator Assy.
Steering Wheel and Console Assy.
Fuel Tank and Steering Bracket Assy.
Clutch Assy. 92-1686
Battery Mount Assy.
Engine and Clutch
Front Axle Assy.
Main Frame Assy.
Hood Assy.
244-5
212-H
212-5
17-44 HXLE
16-44 HXL
16-38 HXL
16-38 XLE
15-44 HXL
15-38 HXL
14-38 HXL
14-38 XL
13-38 HXL
13-38 XL
13-32 XLE
12-38 HXL
12-38 XL
12-32 XL
264 H
265 H
267 H
268 H
270 H
520 xi
520 Lxi
523 Dxi
Rider
Mower decks
Attachements
Hand operated
Robin
Condiciones
(C) by motoruf