volver a
>
Roth / TORO
>
Ride-On Mowers
>
Traktor
>
246 HE
>
309/72101
>
3900001
>
Brake and Hydro Linkage
Lista de repuestos para Toro Roth / TORO Brake and Hydro Linkage
pos.
descripción
Número de pieza
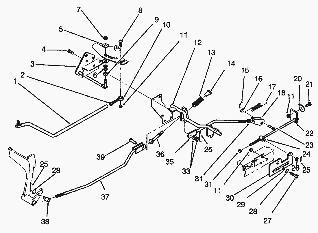
1
Assembly-Rod, Control
78-6150
2
Nut
3220-11
3
Guide-Weldment, Rod
78-6170
4
S.W. Form Screw
926720
5
Washer-Friction
100305
6
Washer-Spring Disc
100365
7
Locknut
3296-39
8
Bolt-Carriage
9002159
9
Spacer
111044
10
Ball End
115575
11
MUTTER
3296-29
12
Shaft
78-6100
13
Spring
79-0440
14
Retainer
115559
15
Cotter Pin
3272-7
16
Flat Washer
3256-24
17
Spring
79-4970
18
Clevis
116047
20
Washer-Special
2844
21
Hex Hd. Capscrew
322-5
22
Bolt-Assembly
78-6270
23
Pin-Clevis
932948
24
Trunnion
104627
25
Cotter Pin
3272-6
26
Washer
3256-23
27
Capscrew
322-6
28
Washer
3256-23
29
Spacer
101389
30
Plate
78-6250
31
Nut-Hex Jam
3218-3
33
Washer
3256-4
35
Rod-Brake
79-2430
36
Bolt-Eye
115558
37
Rod-Brake
78-6071
38
Trunnion
115554
39
Pin-Clevis
932966
Toro
Roth / TORO
Ride-On Mowers
Traktor
264-6
246 HE
309/72101
3900001
Electrical Schematic
Transmission Eaton Model 751-045
Engine TORO Power Plus
Fender and Seat Assy.
Hydraulic Reservoir Assy.
Rear Wheel and Transmission Assy.
Brake and Hydro Linkage
Brake Pedal Assy.
Idler and Pedal Shaft Assy.
Lift Bar Linkage Assy.
Dash Assy.
Steering Shaft and Indicator Assy.
Steering Wheel and Console Assy.
Fuel Tank and Steering Bracket Assy.
Clutch Assy. 92-1686
Battery Mount Assy.
Engine and Clutch
Front Axle Assy.
Main Frame Assy.
Hood Assy.
244-5
212-H
212-5
17-44 HXLE
16-44 HXL
16-38 HXL
16-38 XLE
15-44 HXL
15-38 HXL
14-38 HXL
14-38 XL
13-38 HXL
13-38 XL
13-32 XLE
12-38 HXL
12-38 XL
12-32 XL
264 H
265 H
267 H
268 H
270 H
520 xi
520 Lxi
523 Dxi
Rider
Mower decks
Attachements
Hand operated
Robin
Condiciones
(C) by motoruf