volver a
>
Roth / TORO
>
Ride-On Mowers
>
Traktor
>
246 HE
>
309/72101
>
3900001
>
Hood Assy.
Lista de repuestos para Toro Roth / TORO Hood Assy.
pos.
descripción
Número de pieza
88-2781
pos.
descripción
Número de pieza
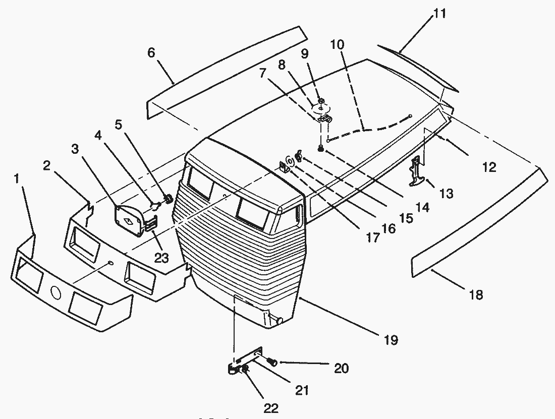
1
Decal-Front Hood
116874
2
Light Bar
116601
3
Light Pods
111684
4
Light Bulb
7228
5
Light Sockets
116262
6
Decal-Hood, RH
79-4160
7
Clevis
115413
8
Washer-Backing
112925
9
Nut-Hex
915740
10
Cable Assembly
78-9341
11
Decal-Danger
88-0010
12
Pop Rivet
117432
13
Handle w/Bracket (109237)
117344
14
Screw
78-8710
15
Nut-Wing
32103-19
16
Special Washer
103995
17
Clip-J
111392
18
Decal-Hood, L.H.
79-4170
20
S.W. Form Screw
926720
21
Bracket-Hood Mtg. L.H.
79-4190
Bracket-Hood Mtg. R.H.
79-4200
22
Push Nut
79-2590
23
Light Retainers
111685
Harness-Headlight
115204
Head Light Bar (Includes Ref.
116591
Toro
Roth / TORO
Ride-On Mowers
Traktor
264-6
246 HE
309/72101
3900001
Electrical Schematic
Transmission Eaton Model 751-045
Engine TORO Power Plus
Fender and Seat Assy.
Hydraulic Reservoir Assy.
Rear Wheel and Transmission Assy.
Brake and Hydro Linkage
Brake Pedal Assy.
Idler and Pedal Shaft Assy.
Lift Bar Linkage Assy.
Dash Assy.
Steering Shaft and Indicator Assy.
Steering Wheel and Console Assy.
Fuel Tank and Steering Bracket Assy.
Clutch Assy. 92-1686
Battery Mount Assy.
Engine and Clutch
Front Axle Assy.
Main Frame Assy.
Hood Assy.
244-5
212-H
212-5
17-44 HXLE
16-44 HXL
16-38 HXL
16-38 XLE
15-44 HXL
15-38 HXL
14-38 HXL
14-38 XL
13-38 HXL
13-38 XL
13-32 XLE
12-38 HXL
12-38 XL
12-32 XL
264 H
265 H
267 H
268 H
270 H
520 xi
520 Lxi
523 Dxi
Rider
Mower decks
Attachements
Hand operated
Robin
Condiciones
(C) by motoruf