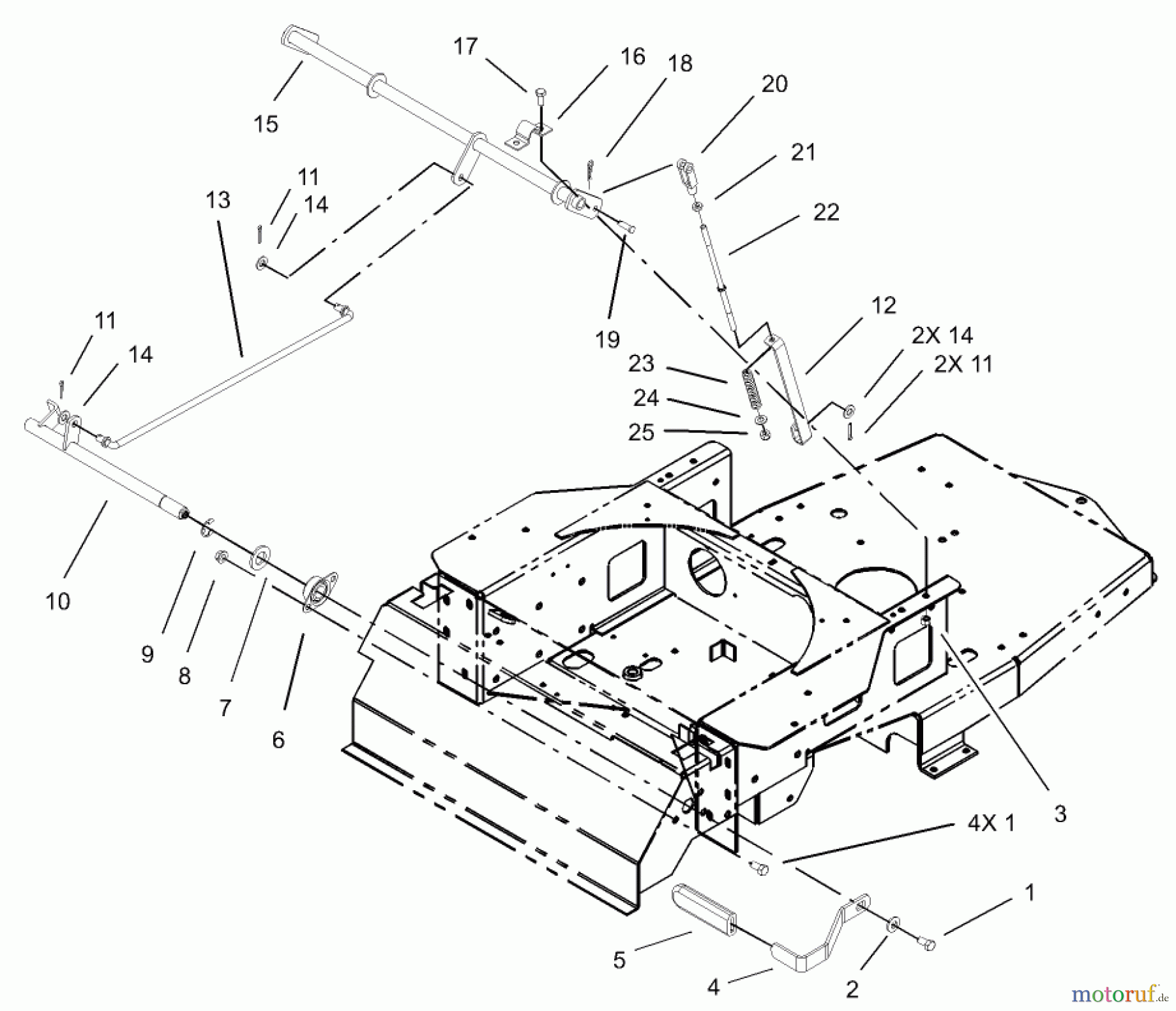
Toro 74801 (18-52ZX) - 18-52ZX TimeCutter ZX Riding Mower, 2003 (230000001-230999999) PARKING BRAKE ASSEMBLY Listas de piezas de repuesto y dibujos
PARKING BRAKE ASSEMBLY 74801 (18-52ZX) - Toro 18-52ZX TimeCutter ZX Riding Mower, 2003 (230000001-230999999)



Gestión de calidad
Ayúdenos a mejorar esta página. Infórmenos de los errores que haya encontrado.



