Configuración Escritorio

Cadenas de sierra

Función de pedido profesional de cadenas de sierra

La manera más fácil es mediante nuestra función de pedido 1 2 3: seleccione el fabricante, el modelo y a continuación la cadena apropiada. Si su modelo de sierra no está incluido en la lista del fabricante, podrá determinar el modelo de su cadena según el esquema siguiente:

Paso

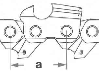
Paso de la cadena:

Para determinar el paso se mide la distancia de centro a centro entre tres pasadores consecutivos y este resultado se divide por dos. (Es necesario realizar la medición entre tres pasadores porque las distancias de taladro de las guías de tracción y los dientes de corte o eslabones de unión tienen tamaños diferentes.) El resultado es el paso en milímetros, que se indica en pulgadas según el uso internacional.
Grosor de guía de tracción

Grosor de guía de tracción:

En cadenas no profesionales de 3/8 también es posible un valor de 1,3 mm (con menor frecuencia 1,1 mm). En cadenas de 0.325 y 3/8 son posibles los valores de 1,3 mm, 1,5 mm y 1,6 mm (1,6 mm para Stihl).

Nº de guías de tracción
Cuente las guías de tracción de la cadena original.
Modelo de sierra:

Bankeinzug, MasterCard, Visa, American Express, PayPal, Nachnahme, Vorauskasse, Sofortüberweisung
Gestión de calidad
Ayúdenos a mejorar esta página. Infórmenos de los errores que haya encontrado.