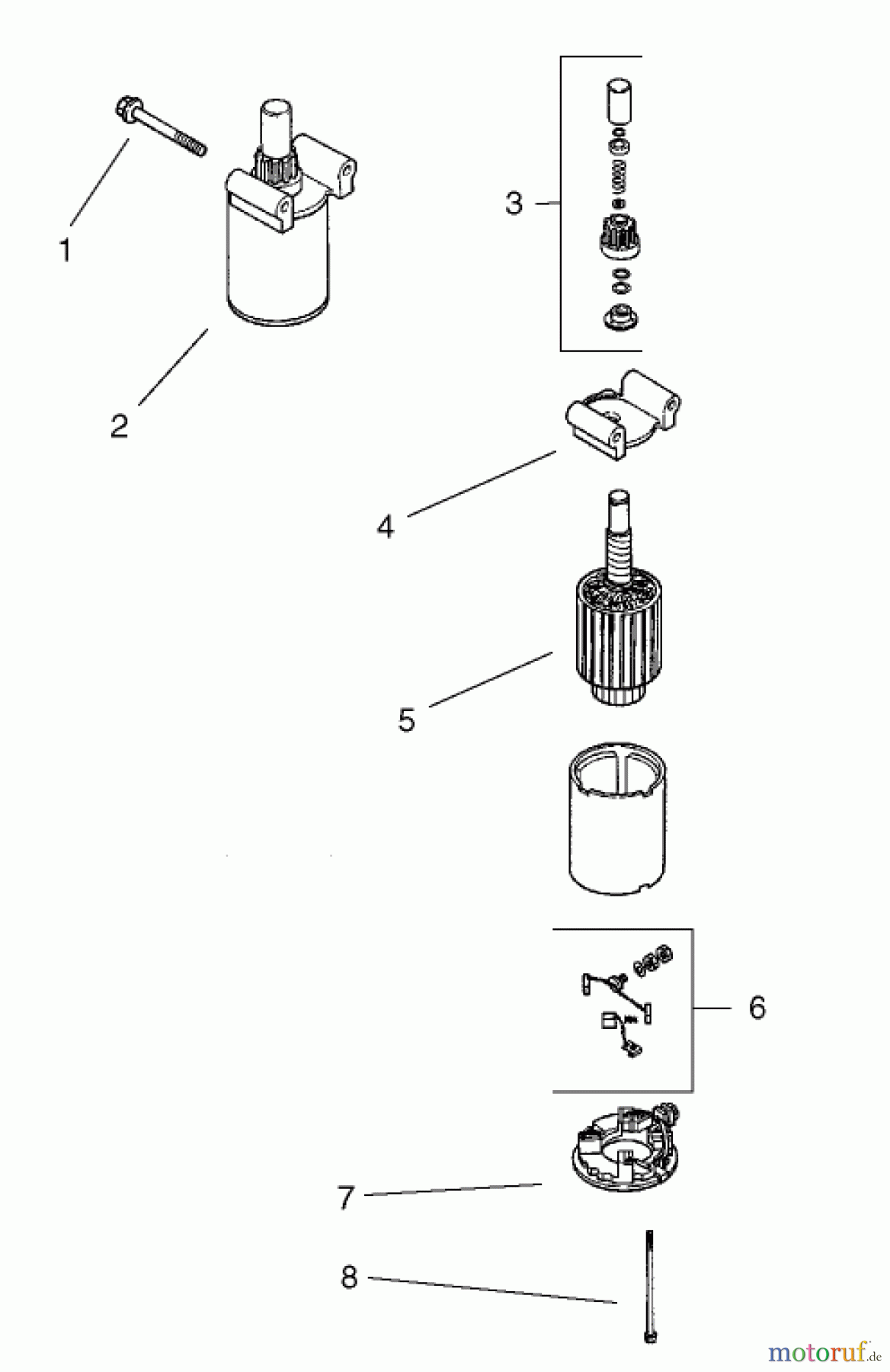
Toro 74601 (Z17-44) - Z17-44 TimeCutter Z Riding Mower, 2002 (220000001-220000912) STARTING SYSTEM ASSEMBLY KOHLER CV 490-27503 Listas de piezas de repuesto y dibujos
STARTING SYSTEM ASSEMBLY KOHLER CV 490-27503 74601 (Z17-44) - Toro Z17-44 TimeCutter Z Riding Mower, 2002 (220000001-220000912)




