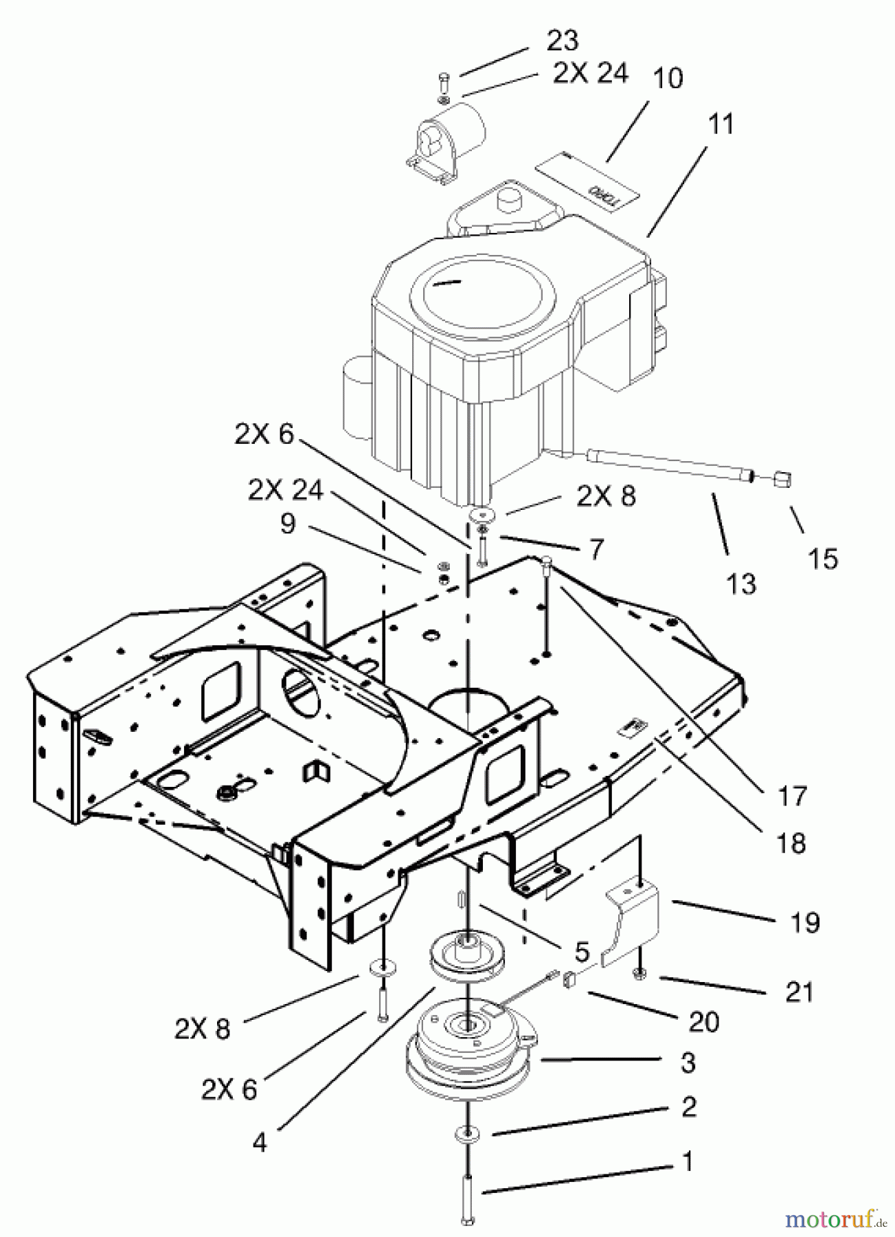
Toro 74601 (17K-44ZX) - 17K-44ZX TimeCutter ZX Riding Mower, 2003 (230000001-230999999) ENGINE AND CLUTCH ASSEMBLY Listas de piezas de repuesto y dibujos
ENGINE AND CLUTCH ASSEMBLY 74601 (17K-44ZX) - Toro 17K-44ZX TimeCutter ZX Riding Mower, 2003 (230000001-230999999)



Gestión de calidad
Ayúdenos a mejorar esta página. Infórmenos de los errores que haya encontrado.


