Toro 74387 (ZS 5000) - TimeCutter ZS 5000 Riding Mower, 2012 (SN 312000001-312999999) CLUTCH ASSEMBLY Listas de piezas de repuesto y dibujos
CLUTCH ASSEMBLY 74387 (ZS 5000) - Toro TimeCutter ZS 5000 Riding Mower, 2012 (SN 312000001-312999999)

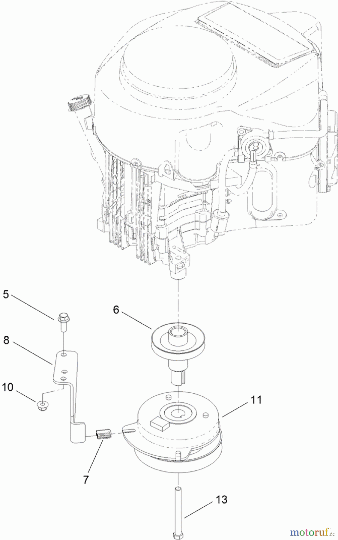
| Pos | Número de artículo | Descripción | |
| 5 | TR3234-42 | Innensechskantschraube | |
| 6 | TR119-3318 | PULLEY-ENGINE | |
| 7 | TR120-2217 | ISOLATOR-CLUTCH | |
| 8 | TR119-8885 | STOP-CLUTCH | |
| 10 | TR104-8301 | Mutter | |
| 11 | TR110-6766 | CLUTCH-ELECTRIC, PTO | |
| 13 | TR32121-7 | Stift | |


Gestión de calidad
Ayúdenos a mejorar esta página. Infórmenos de los errores que haya encontrado.

