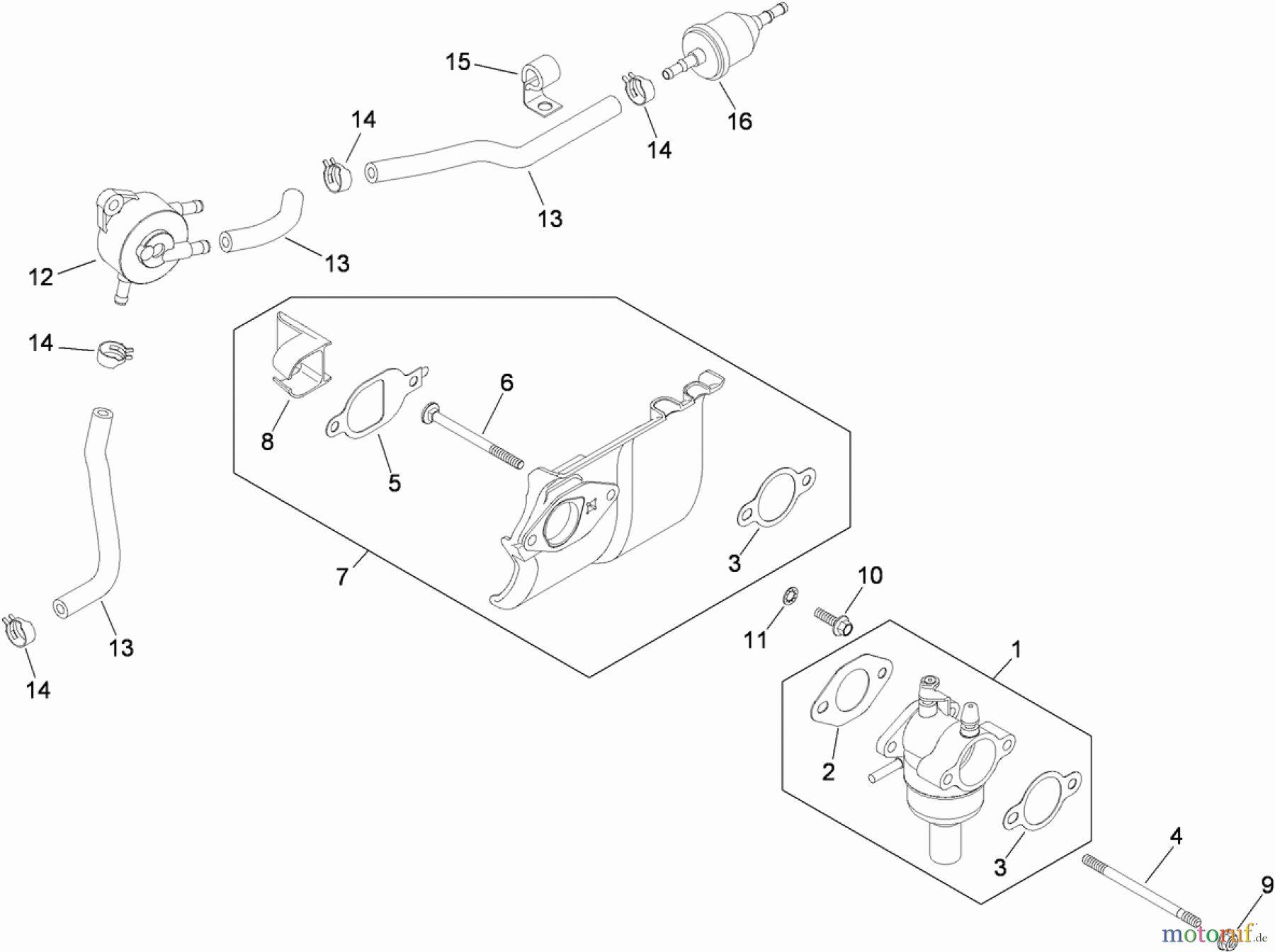
Toro 74363 (Z4200) - TimeCutter Z4220 Riding Mower, 2009 (290000505-290999999) FUEL SYSTEM ASSEMBLY KOHLER SV610-0211 Listas de piezas de repuesto y dibujos
FUEL SYSTEM ASSEMBLY KOHLER SV610-0211 74363 (Z4200) - Toro TimeCutter Z4220 Riding Mower, 2009 (290000505-290999999)



Gestión de calidad
Ayúdenos a mejorar esta página. Infórmenos de los errores que haya encontrado.

