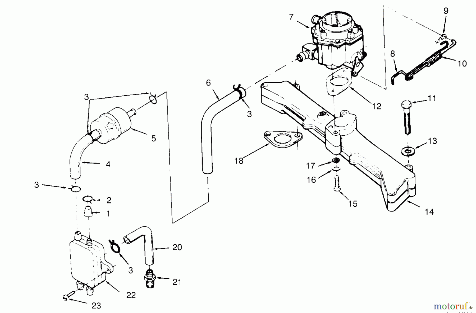
Toro 74140 (724-Z) - 724-Z Tractor, 1995 (590001-599999) CARBURETOR, INTAKE MANIFOLD & FUEL PUMP Listas de piezas de repuesto y dibujos
CARBURETOR, INTAKE MANIFOLD & FUEL PUMP 74140 (724-Z) - Toro 724-Z Tractor, 1995 (590001-599999)



Gestión de calidad
Ayúdenos a mejorar esta página. Infórmenos de los errores que haya encontrado.

