Toro 78445 - 50" Side Discharge Mower, 1994 (490001-499999) 50" DECK ASSEMBLY Listas de piezas de repuesto y dibujos
50" DECK ASSEMBLY 78445 - Toro 50" Side Discharge Mower, 1994 (490001-499999)

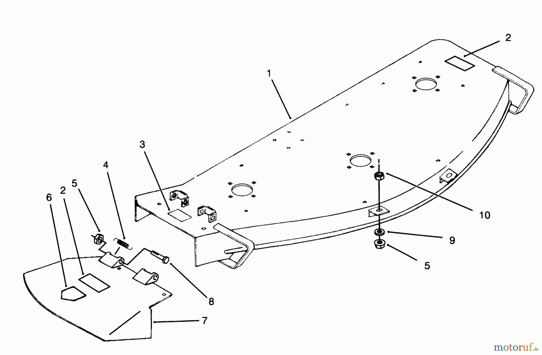
| Pos | Número de artículo | Descripción | |
| 1 | TR92-7695 | 50" DECK (TRK) | |
| 2 | TR66-1340 | DECAL-DANGER, THROWN OBJECT | |
| 3 | TR66-6380 | Schild | |
| 4 | TR40-6230 | Feder | |
| 5 | TR32-9639 | ||
| 6 | ![]() | TR93-1122 | DECAL-DANGER |
| 7 | TR92-7696 | CHUTE W/DECALS | |
| 8 | TR323-42 | Schraube | |
| 9 | ![]() | TR3256-24 | WASHER-FLAT |
| 10 | TR32128-43 | NUT-FLANGE | |


Gestión de calidad
Ayúdenos a mejorar esta página. Infórmenos de los errores que haya encontrado.



