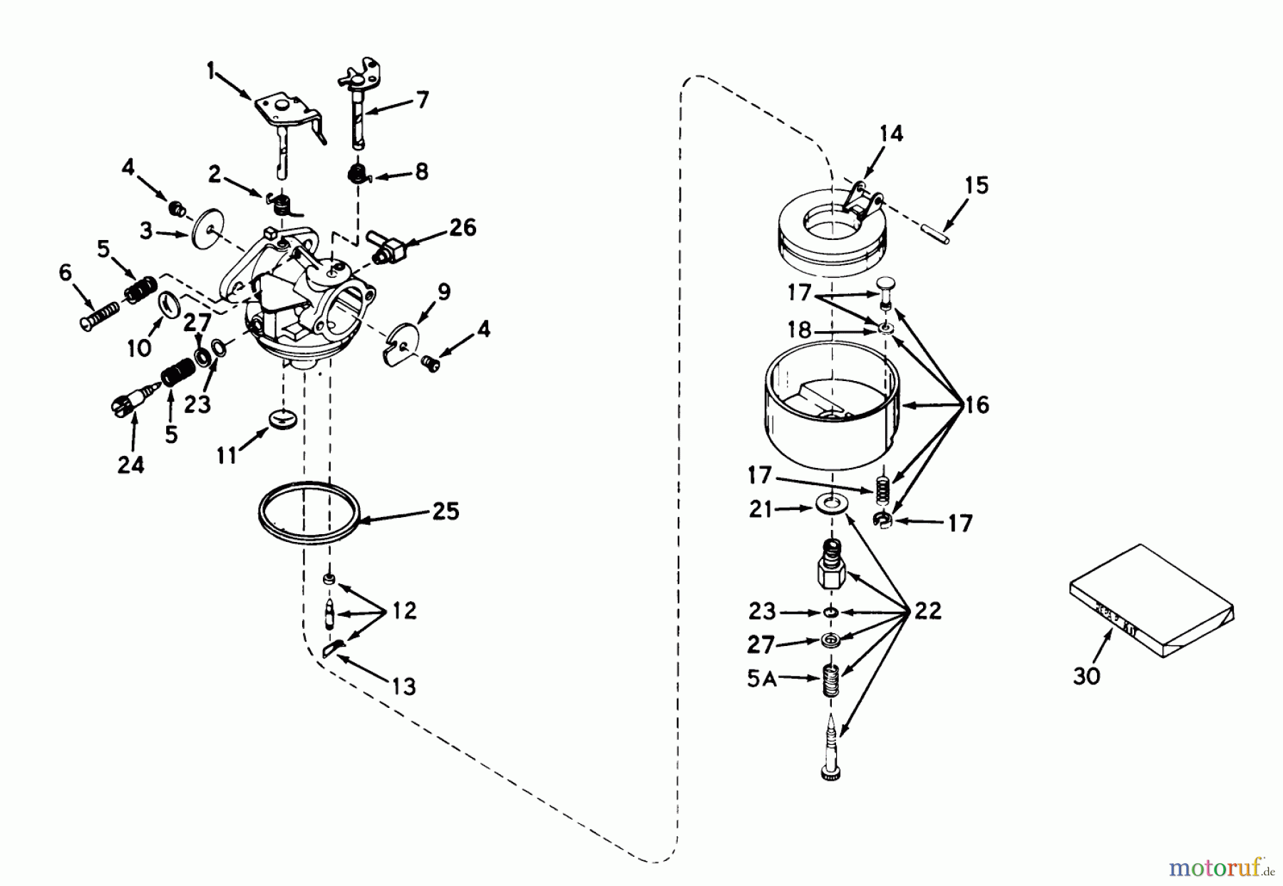
Toro 62853 - Shredder, 1974 (4000001-4999999) CARBURETOR ASSEMBLY NO. 631716 Listas de piezas de repuesto y dibujos
CARBURETOR ASSEMBLY NO. 631716 62853 - Toro Shredder, 1974 (4000001-4999999)



Gestión de calidad
Ayúdenos a mejorar esta página. Infórmenos de los errores que haya encontrado.




