Toro 84311 - Spring Lift, 1972 PARTS LIST-SPRING ASSIST LIFT KIT MODEL (FACTORY ORDER NUMBER 8-4311) (FOR SNOW THROWERS) Listas de piezas de repuesto y dibujos
PARTS LIST-SPRING ASSIST LIFT KIT MODEL (FACTORY ORDER NUMBER 8-4311) (FOR SNOW THROWERS) 84311 - Toro Spring Lift, 1972

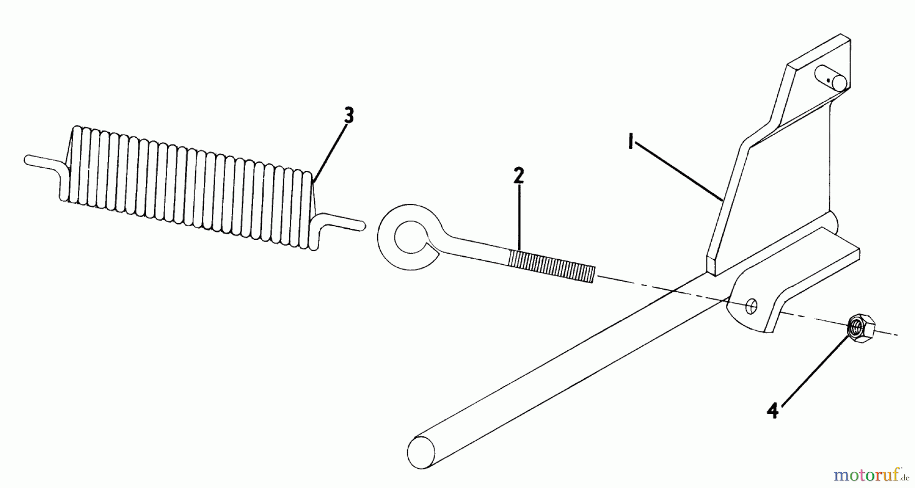
| Pos | Número de artículo | Descripción | |
| 1 | TR101461-03 | ROD-LIFT ASM | |
| 2 | TR100653 | Augenschraube | |
| 3 | TR4629 | Feder | |
| 4 | TR32-9639 | ||



