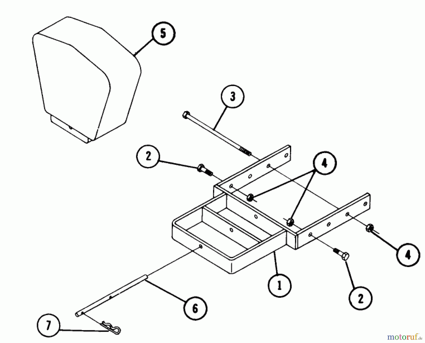
Toro 81221 - Frame Weight, 1972 PARTS LIST MODEL 8-1221 FRONT WEIGHT ACCESSORY Listas de piezas de repuesto y dibujos
PARTS LIST MODEL 8-1221 FRONT WEIGHT ACCESSORY 81221 - Toro Frame Weight, 1972

| Pos | Número de artículo | Descripción | |
| 1 | TR9677 | 700599 | |
| 2 | TR908034-4 | ||
| 3 | TR911402-4 | ||
| 4 | TR32-9639 | ||
| 5 | TR4065 | 703277 | |
| 6 | TR9784 | DISCONTINUED | |
| 7 | TR9335054 | Haarnadelsicherung | |



