Rasen- und Garten Traktoren DRIVE SPINDLE NO. 27-0871 Listas de piezas de repuesto y dibujos
DRIVE SPINDLE NO. 27-0871 30754 - Toro Groundsmaster 117 Tractor (SN: 0000001 - 0999999) (1990)

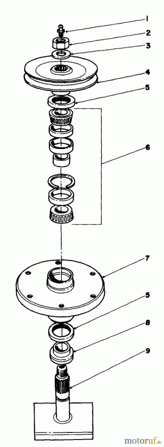
| Pos | Número de artículo | Descripción | |
| 1 | TR302-2 | Fettnippel | |
| 2 | TR32146-20 | Mutter | |
| 3 | TR7-4150 | WASHER | |
| 4 | TR56-2510-03 | Riemenscheibe | |
| 5 | TR253-139 | SEAL-OIL | |
| 6 | TR46-8530 | BEARING ASM | |
| 7 | TR61-4160 | HOUSING-SPINDLE | |
| 8 | TR27-0950 | Lagerbuechse | |
| 9 | TR27-0920 | SHAFT | |


Gestión de calidad
Ayúdenos a mejorar esta página. Infórmenos de los errores que haya encontrado.

