.es
Cesta
vacia
Mi cuenta
Registrarse
Iniciar sesión
Home
Contacto
Nuestra empresa
Álbum de visitantes
Envío
Condiciones y Privacidad
Datos identificativos
Piezas de repuesto
Búsqueda por nº de artículo
Listas de piezas de repuesto y dibujos
Cadenas de sierra
Espadas
Piñones
Antiguedades
Catálogo
Jardín
Industria
Artículos eléctricos
Filtro
Correas trapezoidales / poleas de correa
Artículos de invierno
Trabajos forestales
Piezas de máquinas
Taller
Piezas del motor
Cortar, desbrozar
Juguetería
Lo más vendido
Servicios
Servicio de búsqueda
Determinar cadena de sierra
DE
EN
FR
ES
IT
Versión móvil de la página
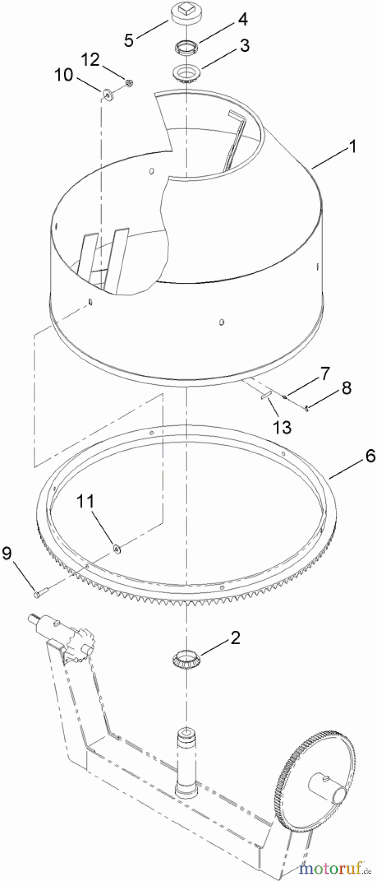
Concrete & Masonry Equipment DRUM ASSEMBLY Listas de piezas de repuesto y dibujos
Start
Concrete & Masonry Equipment
68011C (CM-1258Y-SD) - Toro Concrete Mixer (SN: 313000001 - 313999999)
DRUM ASSEMBLY
DRUM ASSEMBLY 68011C (CM-1258Y-SD) - Toro Concrete Mixer (SN: 313000001 - 313999999) (2013)
Pos
Número de artículo
Descripción
1
TR125-8687-01
2
TRST32283
3
TRST32282
4
TRST32285
5
TRST32287
6
TRST39078-01
7
TRST46057
8
TRST47001
9
TR325-8
Schraube
10
TRST26326
11
TR3256-6
Scheibe
12
TR99-5107
NUT-LOCK
13
TR125-8175
Gestión de calidad
Ayúdenos a mejorar esta página. Infórmenos de los errores que haya encontrado.