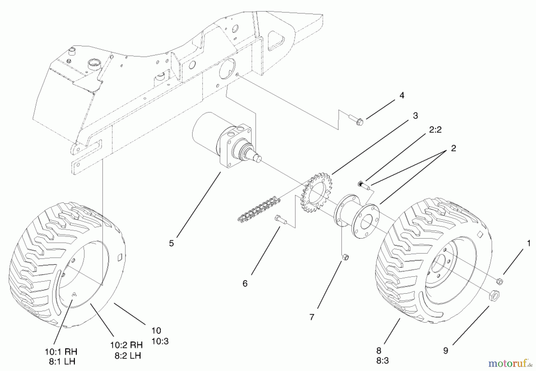
Compact Utility Loaders REAR WHEEL ASSEMBLY Listas de piezas de repuesto y dibujos
REAR WHEEL ASSEMBLY 22317 - Toro Dingo 220 Compact Utility Loader (SN: 250000001 - 250000300) (2005)

| Pos | Número de artículo | Descripción | |
| 1 | TR242-50 | Mutter | |
| 2 | TR100-9990 | REAR HUB ASM | |
| 2:2 | TR10-6830 | Bolzen | |
| 3 | TR98-9937 | Kettenrad-25 | |
| 4 | TR3234-27 | SCREW-HHF | |
| 5 | TR99-3052 | HYD MOTOR ASM | |
| 6 | TR325-7 | Schraube | |
| 7 | TR3296-23 | Mutter | |
| 8 | TR98-2747 | Rad Kpl.Links | |
| 8:1 | TR5108 | VENTIL | |
| 8:2 | TR98-2748 | WHEEL | |
| 8:3 | TR98-2749 | Reifen | |
| 9 | TR106-8159 | NUT-LOCK | |
| 10 | TR99-1447 | Rad Kpl.Rechts | |
| 10:1 | TR232-27 | Ventil | |
| 10:2 | TR98-2748 | WHEEL | |
| 10:3 | TR98-2749 | Reifen | |


Gestión de calidad
Ayúdenos a mejorar esta página. Infórmenos de los errores que haya encontrado.

