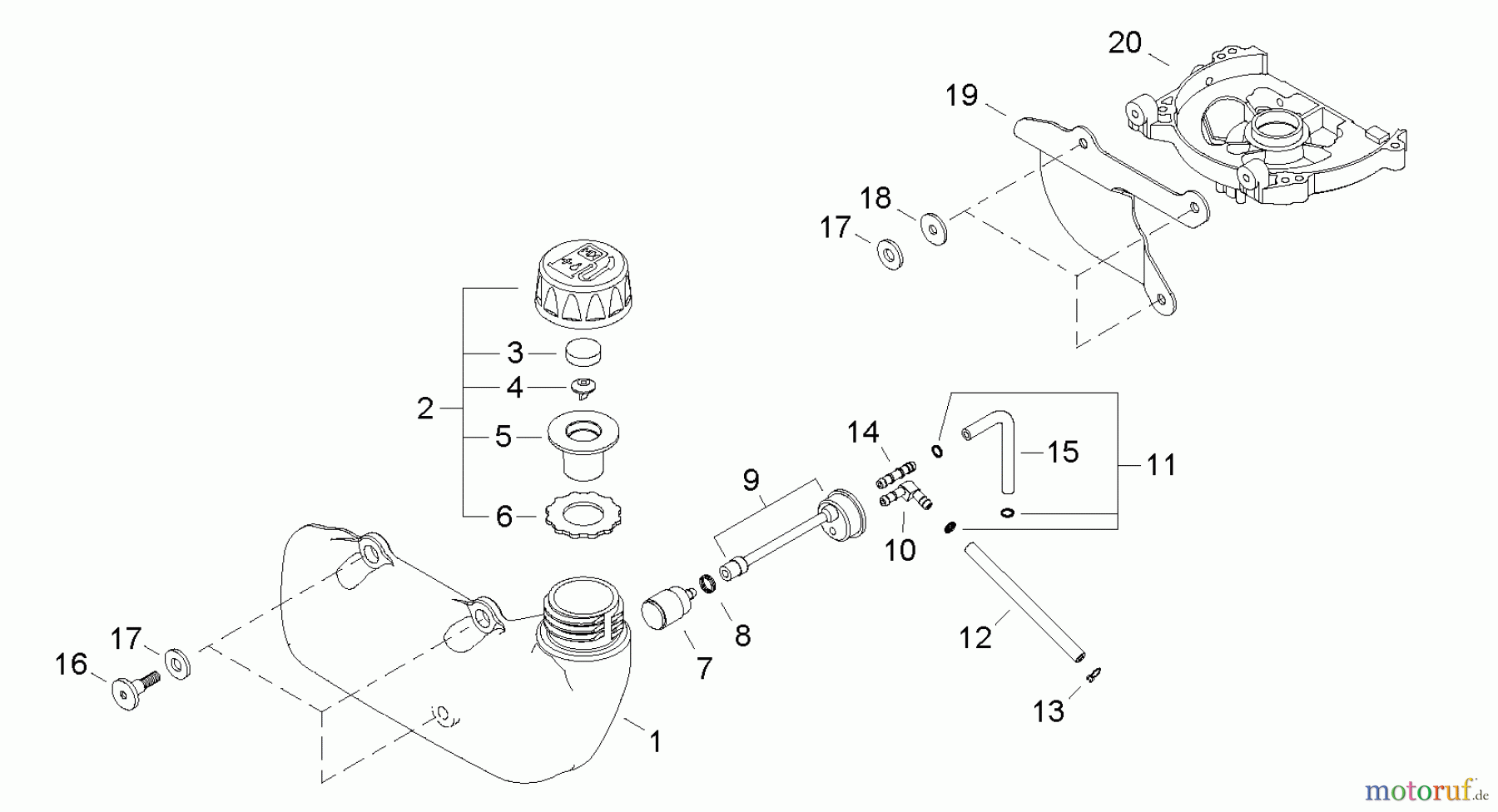
Shindaiwa DH231 - Hedge Trimmer, Dual-Sided, S/N: T09213001001 - T09213999999 Fuel Tank Listas de piezas de repuesto y dibujos
Fuel Tank DH231 - Shindaiwa Hedge Trimmer, Dual-Sided, S/N: T09213001001 - T09213999999



Gestión de calidad
Ayúdenos a mejorar esta página. Infórmenos de los errores que haya encontrado.


