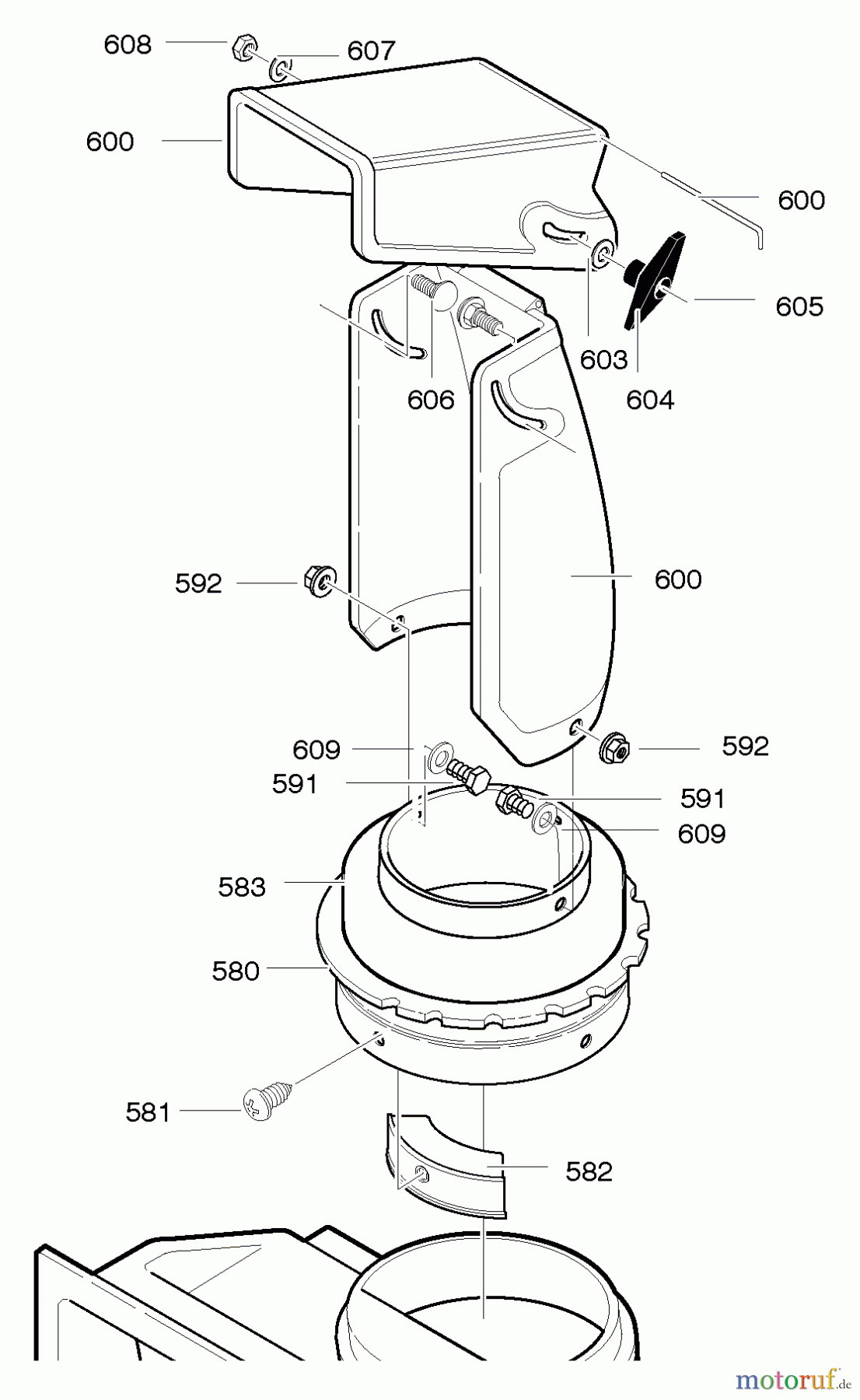
Murray 621501x4NA - 21" Single Stage Snow Thrower (2004) Discharge Chute Listas de piezas de repuesto y dibujos
Discharge Chute 621501x4NA - Murray 21" Single Stage Snow Thrower (2004)



Gestión de calidad
Ayúdenos a mejorar esta página. Infórmenos de los errores que haya encontrado.


