.es
Cesta
vacia
Mi cuenta
Registrarse
Iniciar sesión
Home
Contacto
Nuestra empresa
Álbum de visitantes
Envío
Condiciones y Privacidad
Datos identificativos
Piezas de repuesto
Búsqueda por nº de artículo
Listas de piezas de repuesto y dibujos
Cadenas de sierra
Espadas
Piñones
Antiguedades
Catálogo
Jardín
Industria
Artículos eléctricos
Filtro
Correas trapezoidales / poleas de correa
Artículos de invierno
Trabajos forestales
Piezas de máquinas
Taller
Piezas del motor
Cortar, desbrozar
Juguetería
Lo más vendido
Servicios
Servicio de búsqueda
Determinar cadena de sierra
DE
EN
FR
ES
IT
Versión móvil de la página
Echo GT-22GES - String Trimmer Gear Case Listas de piezas de repuesto y dibujos
Start
Echo
Trimmer, Faden / Bürste
GT-22GES - Echo String Trimmer
Gear Case
Gear Case GT-22GES - Echo String Trimmer
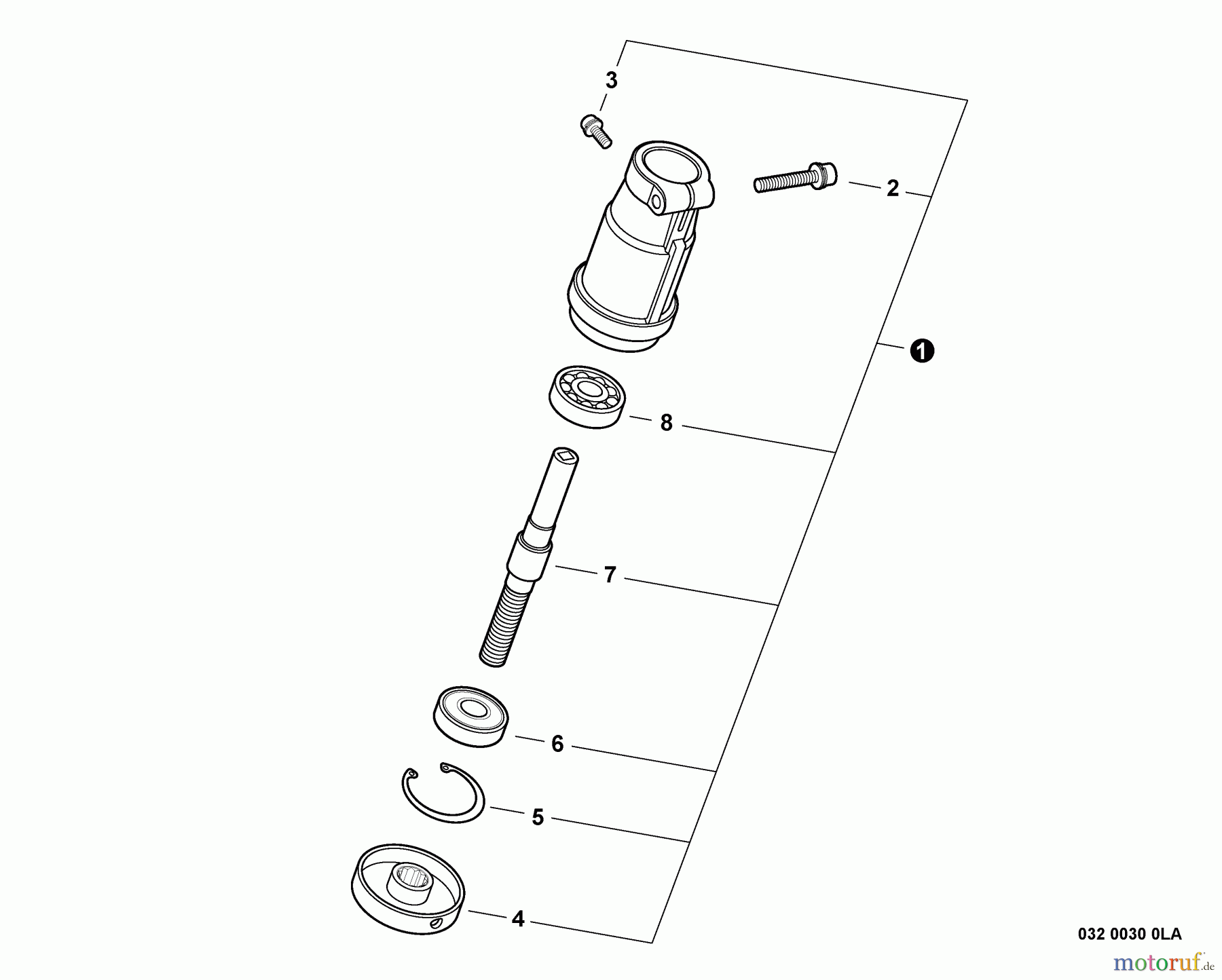
Pos
Número de artículo
Descripción
1
16-P021-009461
Gehäuse flex. Welle kpl. GT-
2
16-91118-05025
Schraube M5x25 mm SRM-265ES,
3
16-900242-04010
Schraube EA-410
4
16-C535-000340
Fixierplatte GT-220ES
5
16-900702-00030
Seegerring, innen, 30mm
6
16-94061-06200
Kugellager GT-220ES
7
16-C534-000341
Adapter Welle GT-220ES
8
16-900810-06200
Kugellager
16
16
Gestión de calidad
Ayúdenos a mejorar esta página. Infórmenos de los errores que haya encontrado.