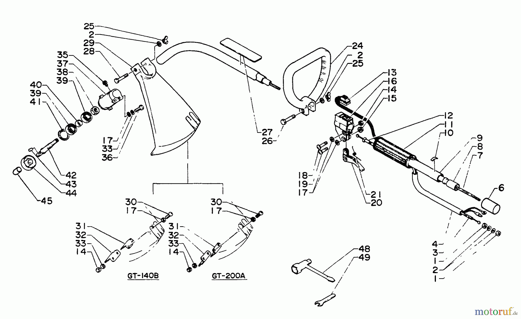
Echo GT-200A - String Trimmer Driveshaft, Handles, Throttle, Stop Switch, Shield, Gear Case, Tools Listas de piezas de repuesto y dibujos
Driveshaft, Handles, Throttle, Stop Switch, Shield, Gear Case, Tools GT-200A - Echo String Trimmer



Gestión de calidad
Ayúdenos a mejorar esta página. Infórmenos de los errores que haya encontrado.

