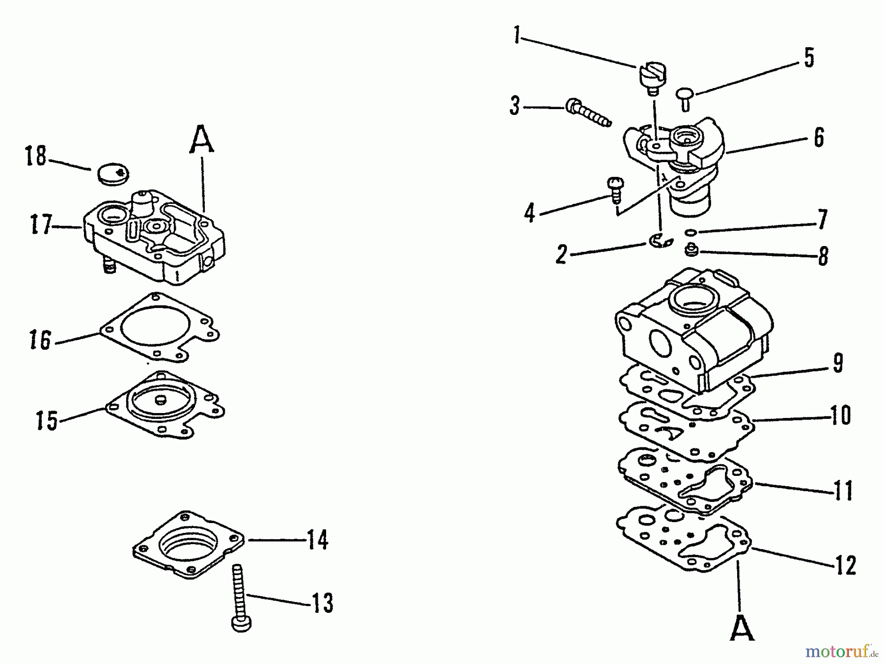
Echo GT-1100 - String Trimmer, S/N:098001 - 126000 Carburetor Listas de piezas de repuesto y dibujos
Carburetor GT-1100 - Echo String Trimmer, S/N:098001 - 126000



Gestión de calidad
Ayúdenos a mejorar esta página. Infórmenos de los errores que haya encontrado.

