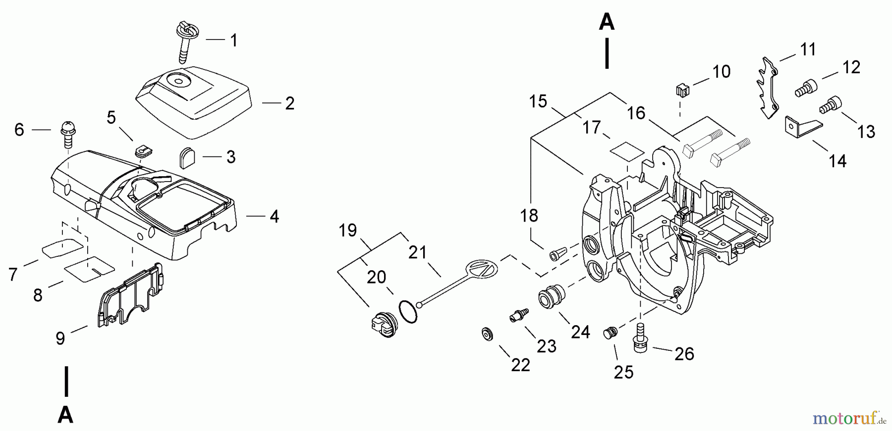
Echo CS-420ES - Chainsaw, S/N: 20001001 - 20999999 Engine Cover Listas de piezas de repuesto y dibujos
Engine Cover CS-420ES - Echo Chainsaw, S/N: 20001001 - 20999999



Gestión de calidad
Ayúdenos a mejorar esta página. Infórmenos de los errores que haya encontrado.

