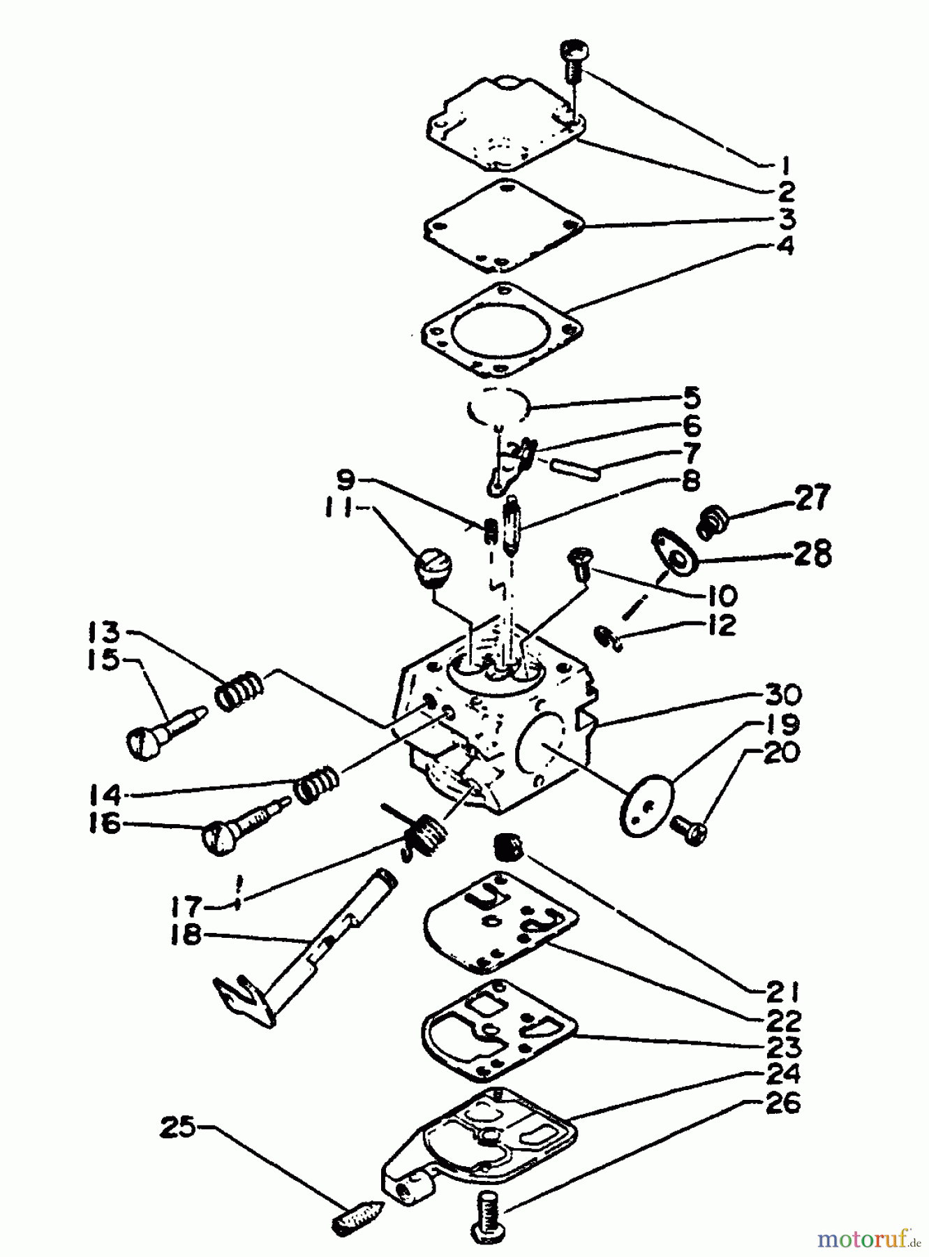
Echo CS-280E - Chainsaw, S/N: 0000001 - 0055489 Carburetor Listas de piezas de repuesto y dibujos
Carburetor CS-280E - Echo Chainsaw, S/N: 0000001 - 0055489



Gestión de calidad
Ayúdenos a mejorar esta página. Infórmenos de los errores que haya encontrado.

