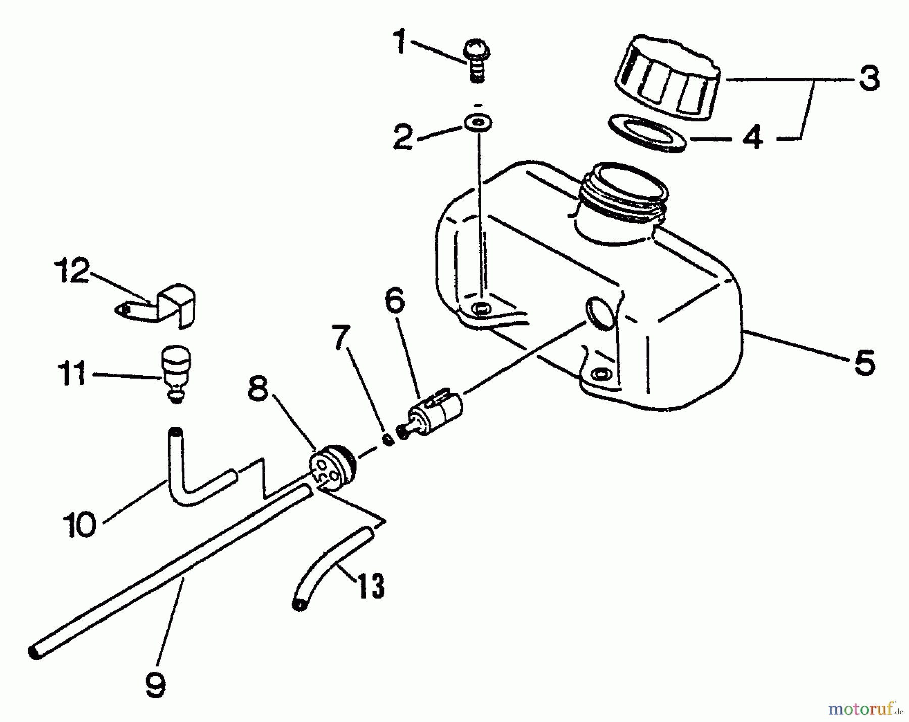
Echo HC-1001 - Hedge Trimmer, S/N: 024001 - 999999 Fuel System Listas de piezas de repuesto y dibujos
Fuel System HC-1001 - Echo Hedge Trimmer, S/N: 024001 - 999999



Gestión de calidad
Ayúdenos a mejorar esta página. Infórmenos de los errores que haya encontrado.



