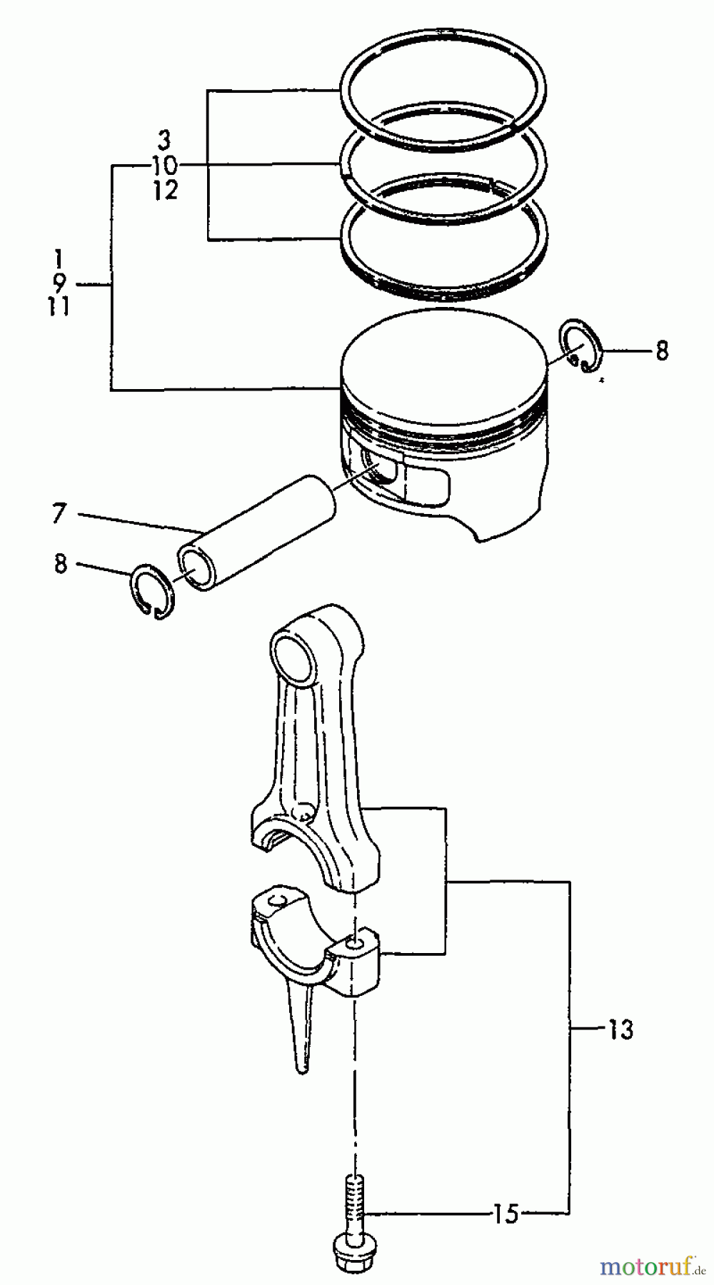
Echo EG-4300 - Portable Generator, S/N: 00846 - 99999 Connecting Rod, Piston Listas de piezas de repuesto y dibujos
Connecting Rod, Piston EG-4300 - Echo Portable Generator, S/N: 00846 - 99999

| Pos | Número de artículo | Descripción | |
| 1 | 16Y16091022011 | ||
| 3 | 16Y76091022500 | ||
| 7 | 16Y16091022300 | ||
| 8 | 16Y22252000190 | ||
| 9 | 1699999999999 | ||
| 10 | 16Y76091022540 | ||
| 11 | 16Y16091022480 | ||
| 12 | 16Y76091022550 | ||
| 13 | 16Y76091023101 | ||
| 15 | 16Y16081023201 | ||


Gestión de calidad
Ayúdenos a mejorar esta página. Infórmenos de los errores que haya encontrado.

