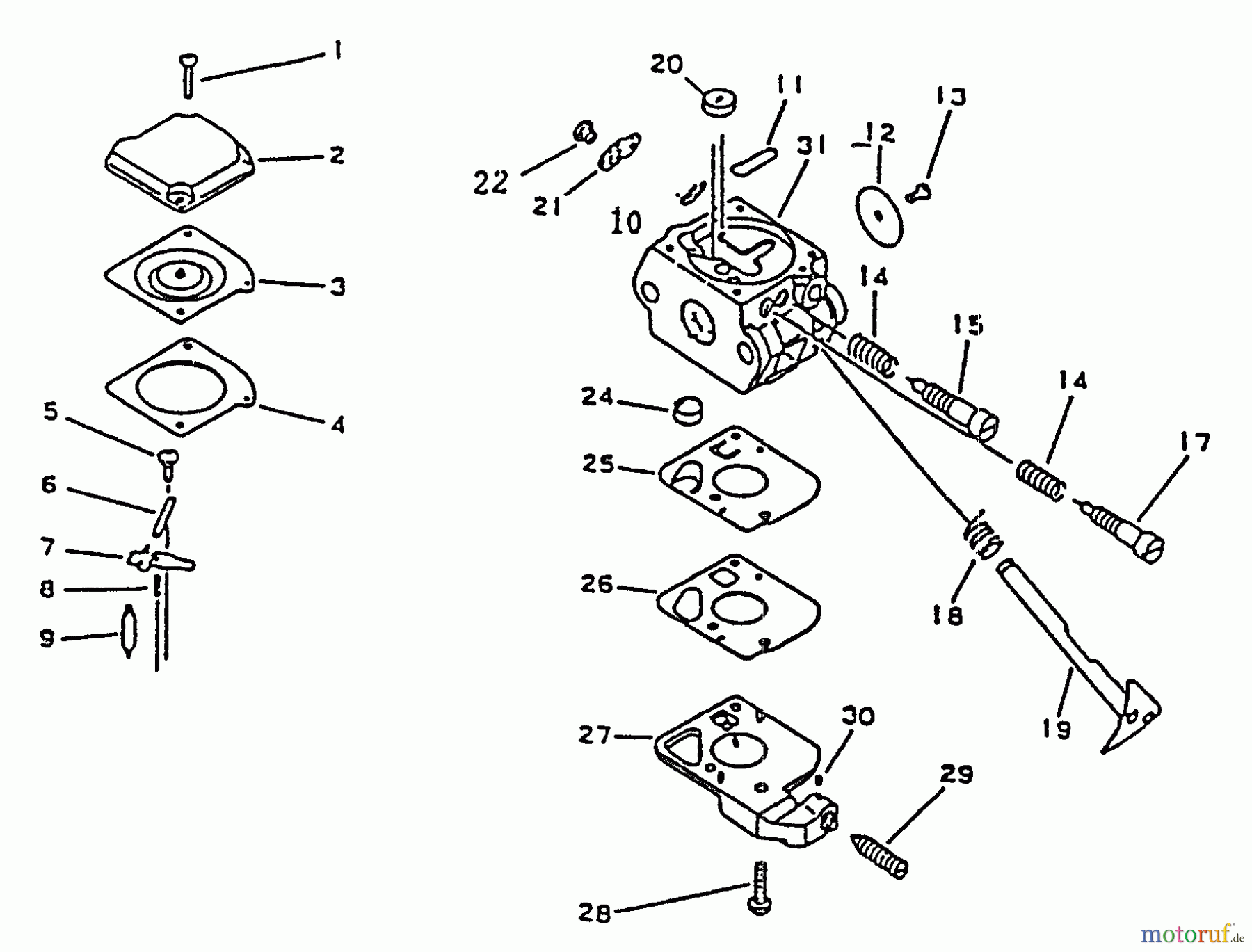
Echo PB-1000 - Hand Held Blower, S/N: 001001 - 066000 Carburetor Listas de piezas de repuesto y dibujos
Carburetor PB-1000 - Echo Hand Held Blower, S/N: 001001 - 066000



Gestión de calidad
Ayúdenos a mejorar esta página. Infórmenos de los errores que haya encontrado.

