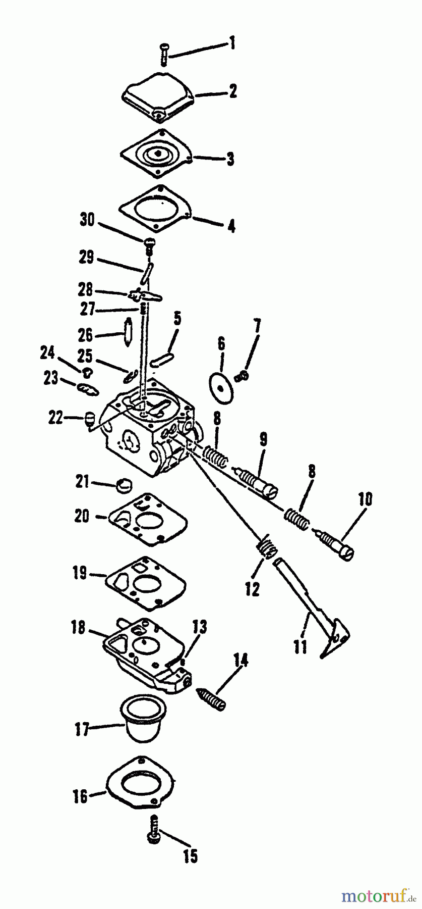
Echo ES-2000 - Shredder/Vacuum, S/N: 007942 - 999999 Carburetor Listas de piezas de repuesto y dibujos
Carburetor ES-2000 - Echo Shredder/Vacuum, S/N: 007942 - 999999



Gestión de calidad
Ayúdenos a mejorar esta página. Infórmenos de los errores que haya encontrado.

