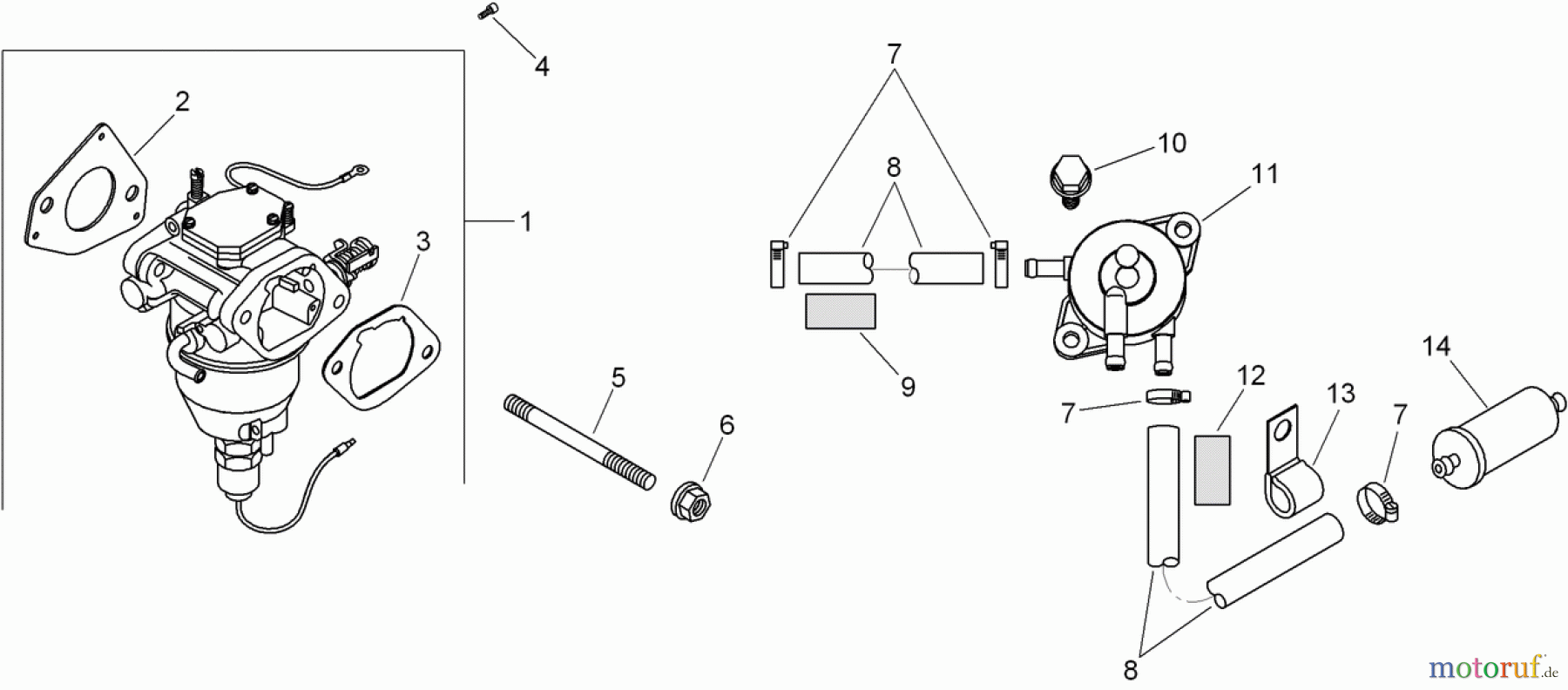
Toro 74381 (Z4202) - TimeCutter Z4202 Riding Mower, 2008 (280000001-280999999) FUEL SYSTEM ASSEMBLY KOHLER SV710-0027 Listas de piezas de repuesto y dibujos
FUEL SYSTEM ASSEMBLY KOHLER SV710-0027 74381 (Z4202) - Toro TimeCutter Z4202 Riding Mower, 2008 (280000001-280999999)



Gestión de calidad
Ayúdenos a mejorar esta página. Infórmenos de los errores que haya encontrado.

