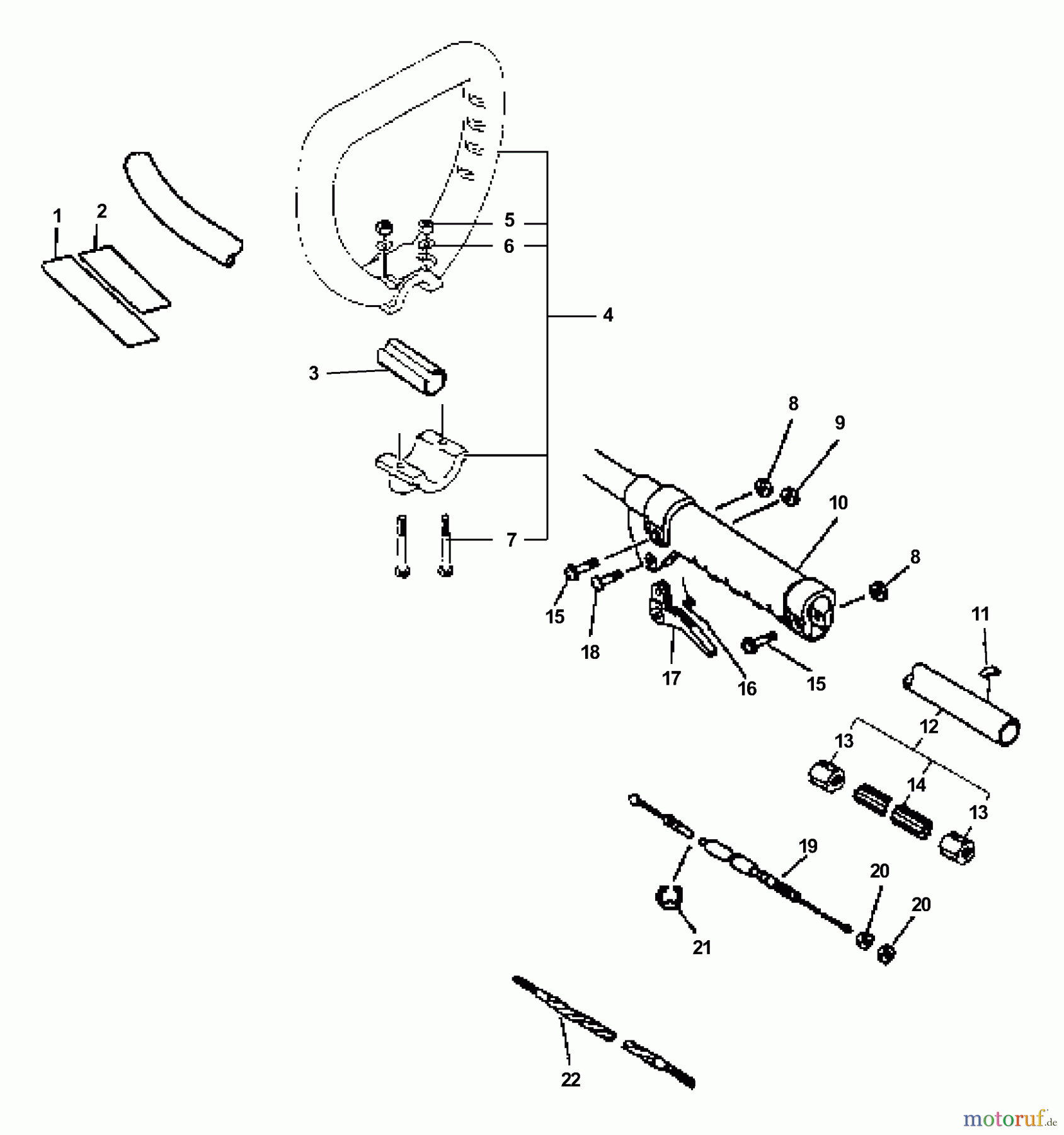
Echo PE-2000 - Edger (Type 2E) Driveshaft, Handles, Throttle Listas de piezas de repuesto y dibujos
Driveshaft, Handles, Throttle PE-2000 - Echo Edger (Type 2E)



Gestión de calidad
Ayúdenos a mejorar esta página. Infórmenos de los errores que haya encontrado.


