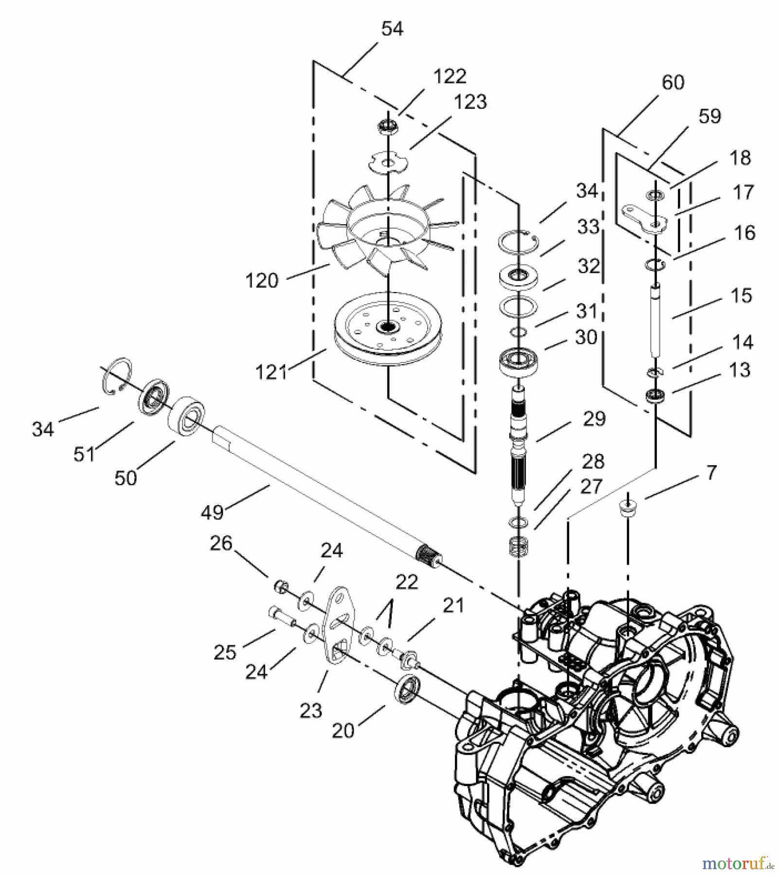
Toro 74301 (14-38Z) - 14-38Z TimeCutter Z Riding Mower, 2003 (230000001-230999999) FAN AND PULLEY ASSEMBLY LH HYDROSTAT NO. 105-3492 Listas de piezas de repuesto y dibujos
Riemenscheibe
Número de artículo:
TR104-1754
Pos:
121
146.54 €
Incl. IVA en la UE, (envío no incluido)
El artículo se ha añadido a la cesta.
Se encargará por usted: plazo de entrega aproximado de 5 días laborables.



