volver a
>
Reel-mowers
>
Accu
>
TC 32 MAC
>
Cable form
Lista de repuestos para Wolf Reel-mowers Cable form
pos.
descripción
Número de pieza
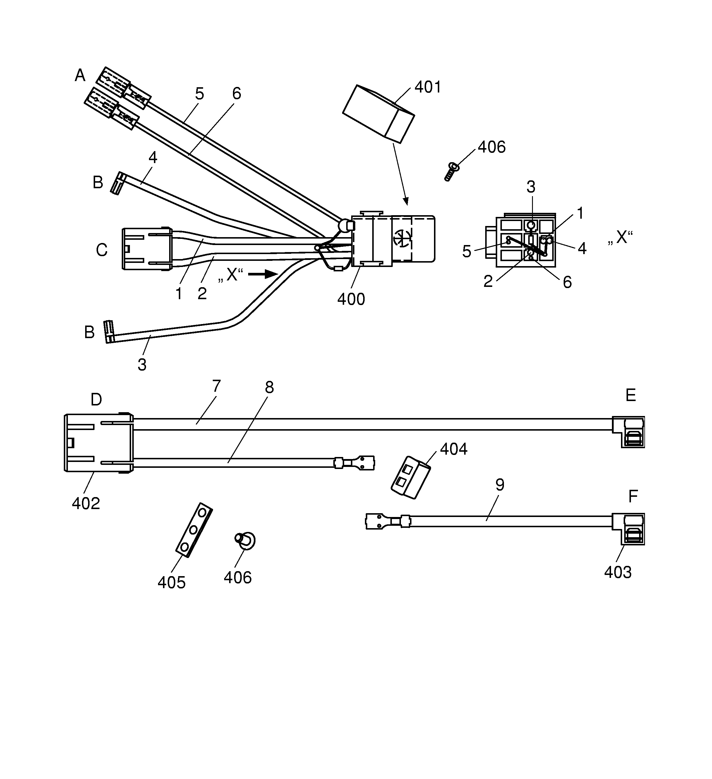
400
Cable Harness
3617 054
401
Relay K3 200954307
4933 114
402
Connection Cable Battery
3617 061
403
Cable Red
3617 135
404
Safety Switch 15 Ampere
3617 109
405
Clip
3617 505
406
Screw K50x12 (2 pieces)
0012 629
***
Battery Charger (6.42Bai)
4911 067
Wolf
Handtools
Hedge-shears
Secateurs
Grass-shears
Loppers
Tree Lopper
Tree care
Illumination, Ambiance
Battery-shears
Shredders
Saws
Grass-Trimmers
Reel-mowers
Electro
Accu
TC 32 MAC
Data Sheet
Chassis, Wheels, Blades
Motor, Covers, Battery
Handlebar, Switch
Cable form
Connection diagram
Grass collector FS32
Mach
Standard
Spreaders / Portax
Irrigation
Scarifiers / Aerators
Mowers
Ride-on Mowers
Petrol engines
Optional extras
Condiciones
(C) by motoruf