volver a
>
Roth / TORO
>
Hand operated
>
Lawnmower
>
2-stroke SP
>
237/22045
>
210000001
>
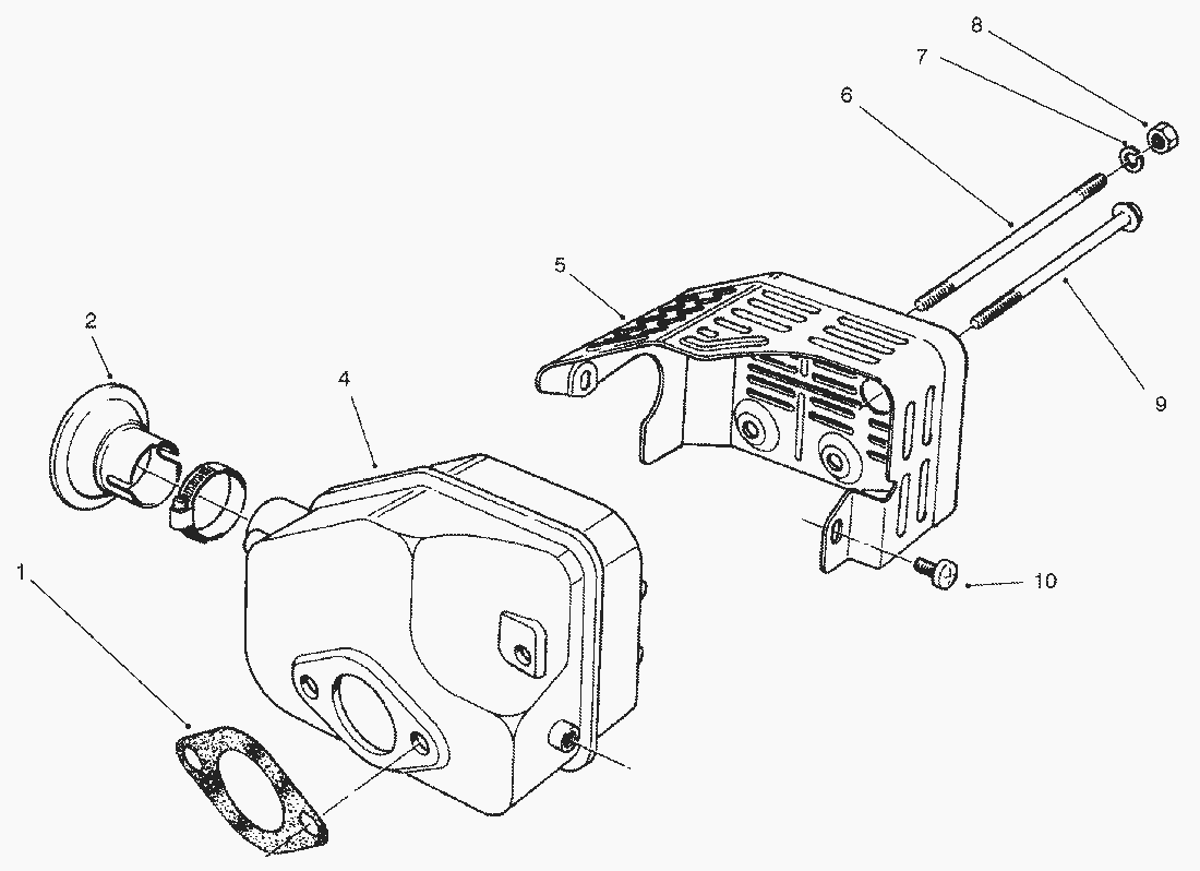
Muffler Assy.
Lista de repuestos para Toro Roth / TORO Muffler Assy.
pos.
descripción
Número de pieza
1
DICHTUNG
81-1080
2
81-0200
4
AUSPUFF
81-5690
5
SCHUTZGITTER
81-2450
6
STEHBOLZEN
81-1100
7
FEDERRING
81-1120
8
SECHSKANTMUTTER
81-1110
9
SCHRAUBE
81-1150
10
SCHRAUBE
81-1140
Toro
Roth / TORO
Ride-On Mowers
Hand operated
Sweeper
Snowthrower
Vac/Blower
Lawnmower
Grass Baggers
4-stroke SP
4-stroke
2-stroke SP
295/26643
295/26643 B
295/26640 BC
295/26640 B
287/20916B
277
255/22700 BC
255/22700
239
237/22045
210000001
Carburetor Assy.
Starter Assy. No. 81-2030
Governor Assy.
Ignition Assy.
Muffler Assy.
Crankcase and Crankshaft Assy.
Engine and Air Filter Assy.
Bag Assy. No. 99-2535
Rear Wheel and Tire Assy. No. 74-1720
Gearcase and Rear Wheel Assy.
Controls, BALLS and Panel Assy.
Handle and Handle LATCH Assy.
Fuel Tank and Bracket Assy.
Blade Brake Clutch Assy.
Gearbox Assy. No. 74-1861
Front Wheel and Tire Assy.
Housing Assy. No. 98-7144
Housing Assy.
9900001
8900001
7900001
237/22045 B
237/22044 BC
237/22036
237/22035
234
224
222/16212 WG
2-stroke
Electric
Battery
Robin
Condiciones
(C) by motoruf