volver a
>
Roth / TORO
>
Ride-On Mowers
>
Traktor
>
12-32 XL
>
390/71200
>
3900001
>
Frame Assy.
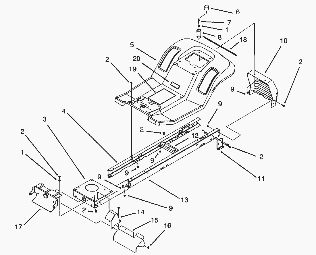
Lista de repuestos para Toro Roth / TORO Frame Assy.
pos.
descripción
Número de pieza
1
Washer
3256-23
2
Capscrew
322-3
3
Plate-Engine Mount
88-4630
4
Rail-R.H. Frame
88-4650
5
Body-Rear
88-3840-01
6
Cap-Protector
701178
7
Hex Hd. Capscrew
322-5
8
Spring-Compression
88-6220
9
MUTTER
3296-29
10
Panel-Rear Hitch
88-3940
11
Bracket-Transaxle Mtg.
88-5260
12
Bracket-Idler Pivot
88-4620
13
Rail-L.H. Frame
88-4660
14
Shield-Exhaust Pipe
88-4960
15
Shield-Muffler
88-6290
16
Self Tapping Screw
32104-76
17
Support-Front Axle
88-5120
18
Decal-Rear Body (Model No. 71140 Only)
92-2488
Decal-Rear Body (Model No. 71200 Only)
92-2489
19
Decal-Instruction
92-2484
20
Decal-Made in USA (Model No. 71140 Only)
117242
Toro
Roth / TORO
Ride-On Mowers
Traktor
264-6
246 HE
244-5
212-H
212-5
17-44 HXLE
16-44 HXL
16-38 HXL
16-38 XLE
15-44 HXL
15-38 HXL
14-38 HXL
14-38 XL
13-38 HXL
13-38 XL
13-32 XLE
12-38 HXL
12-38 XL
12-32 XL
390/71201
390/71200
5910001
5900001
4900001
3900001
Peerlesss Transaxle Model No. 915-020
Engine B&S Model 283707-0156-01
Engine B&S Model 254707-0128-01
HOC Assy.
Transaxle Assy.
Electrical Assy.
Shift Assy. (Serial No. 3901529 & up)(Model No. 71140)(Serial No. 3900900 & up)(Model No. 71200)
Shift Assy. (Serial No. 3900001-3901528)(Model No. 71140)(Serial No. 3900001-3900899)(Model No. 71200)
Clutch Assy.
Engine Assy.
Steering Assy.
Seat Assy.
Front Axle Assy.
Hood Assy.
Frame Assy.
264 H
265 H
267 H
268 H
270 H
520 xi
520 Lxi
523 Dxi
Rider
Mower decks
Attachements
Hand operated
Robin
Condiciones
(C) by motoruf