volver a
>
Mowers
>
Petrol
>
Electric start / Touch 'n Mow
>
Premio
>
Premio 40 TM
>
Motor, Blade
Lista de repuestos para Wolf Mowers Motor, Blade
pos.
descripción
Número de pieza
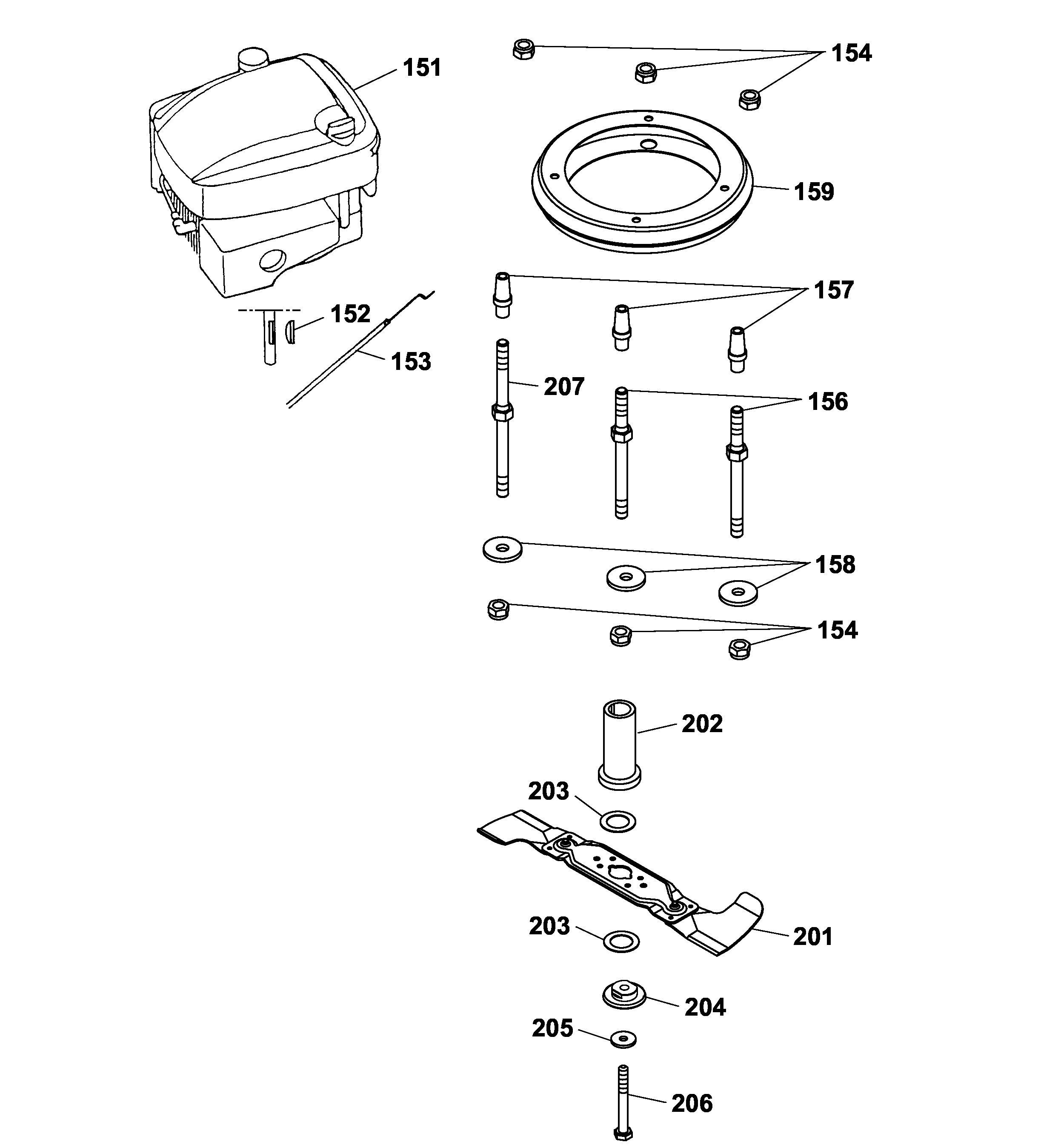
151
Motor
2075 000
151
Motor Quantum 60 XM (Series B only)
2075 060
152
Key
0029 131
152
Key
0029 130
153
Bowden Wire Brake
4004 054
154
Hex. Nut
0016 312
156
Stud Bolt, Short
4004 170
157
Spacer
4004 172
158
Washer
0017 111
159
Ring
6340 022
201
Cutter Bar Compl.
4001 094
***
Replacement blades VI-W (1 pair)
4350 040
202
Coupling
4004 402
202
Coupling, Series B
4618 402
203
Clutch Facing
4005 403
204
Coupling Disk
4004 401
205
Friction Washer
0017 105
206
Screw
0010 264
207
Stud Bolt, Long
4004 171
Wolf
Handtools
Hedge-shears
Secateurs
Grass-shears
Loppers
Tree Lopper
Tree care
Illumination, Ambiance
Battery-shears
Shredders
Saws
Grass-Trimmers
Reel-mowers
Spreaders / Portax
Irrigation
Scarifiers / Aerators
Mowers
Accu
Petrol
Without drive up to 42 cm
Without drive from 43 cm on
Drive up to 42 cm
Drive from 43 cm on
Electric start / Touch 'n Mow
series 2
series 4
series 6
Concept
Premio
Premio 46 BAI
Premio 46 BAI
Premio 46 BAi
Premio 40 TM
Data Sheet
Chassis
Axle, Wheels, Height-adjustment
Handlebar compl.
Motor, Blade
Grass collector Premio
55 XM
55 XM
Premio 40 TM
Premio 46 TMA
Premio 46 TMA
Power Edition
Esprit
Electro
Ride-on Mowers
Petrol engines
Optional extras
Condiciones
(C) by motoruf