volver a
>
Scarifiers / Aerators
>
Scarifiers
>
Electro
>
UV
>
UV 29 EVD
>
Handlebar, Switch
Lista de repuestos para Wolf Scarifiers / Aerators Handlebar, Switch
pos.
descripción
Número de pieza
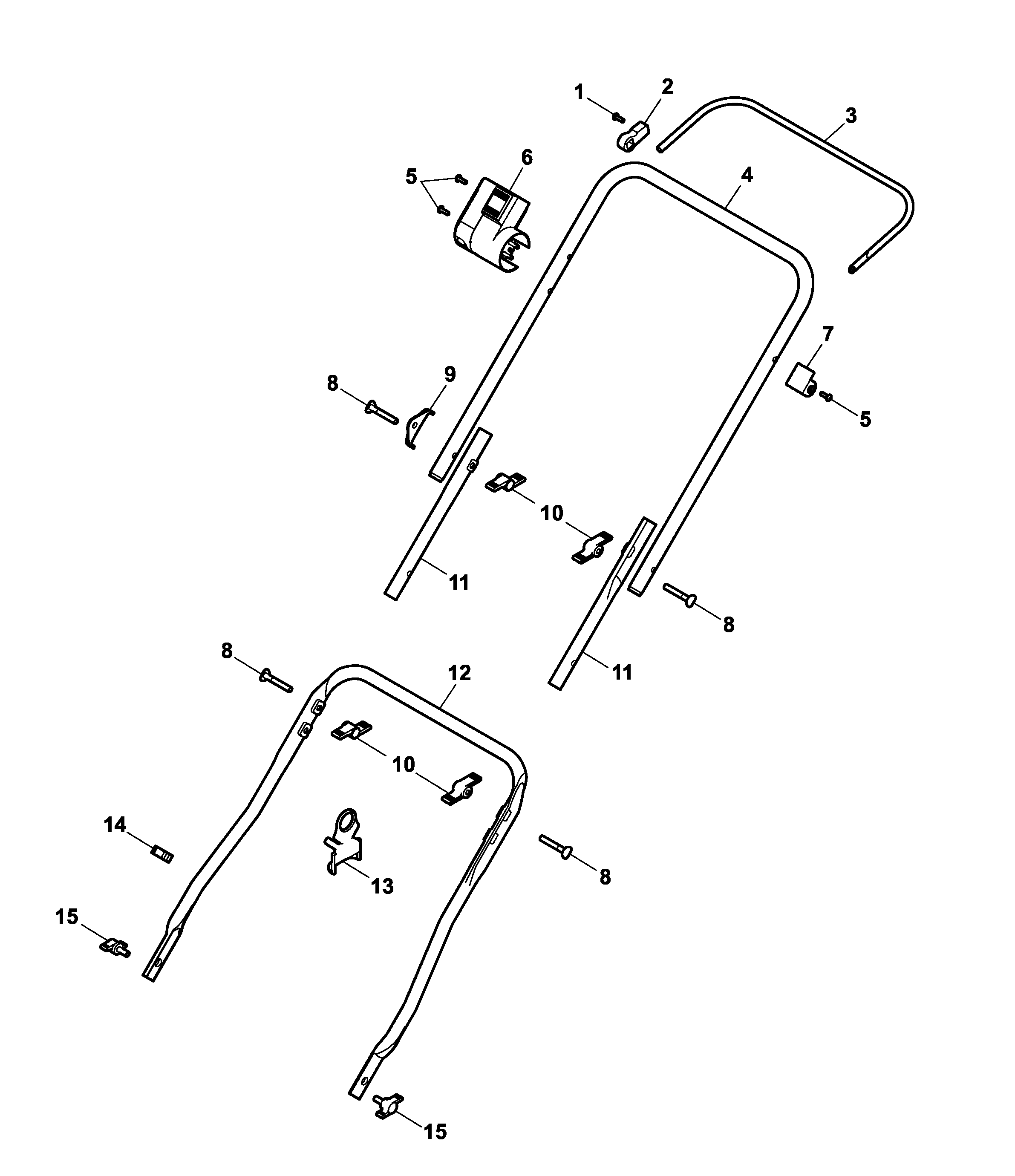
1
Screw
0015 820
2
Bushing
4940 105
3
Bracket Bracket
3616 122
4
Upper Handlebar
3618 026
5
Screw
0012 625
6
Switch-Key
3618 052
7
Clamp-Casing
4935 105
8
Connecting Screw
4901 101
9
Antikink
4907 338
10
Wingnut
0016 723
11
Handle Pipe
3616 120
12
Lower Handle Part
3618 120
13
Cable Guide
4936 323
14
Cable Clamp
4950 307
15
Screw
0013 006
***
Instruction Manual
0054 469
***
Bag With Accessories
3618 031
Wolf
Handtools
Hedge-shears
Secateurs
Grass-shears
Loppers
Tree Lopper
Tree care
Illumination, Ambiance
Battery-shears
Shredders
Saws
Grass-Trimmers
Reel-mowers
Spreaders / Portax
Irrigation
Scarifiers / Aerators
Scarifiers
Hand
Electro
UV
UV 30 EL
UV 30 EL
UV 30 EL
UV 30 EV
UV 30 EV
UV 30 EV
UVEL
UV 30 EV
Olympia V Plus
UV 32 EL
UV 32 EL
UV 32 EL
UV 32 EL
UR-ES
UV 32 EL
UV 32 EV
UV 32 EV
UV 32 E / A
UV 32 EV
UV 32 EV
UV 32 EV / A
UV 34 E
UV 34 E
UV 32 E
UV 32 E
UV 32 E
UV 32 E
UV 28 EV
UV 28 EV
UV 30 EV
UV 30 EV
UV 32 EV
UV 32 EV
UVES
UV 34 E
UV 34 E
UV 30 EV
UV 30 EV
UV 32 EV
UV 32 EV
UV 34 E
UV 34 E
UV 28 EV
UVE
UV 28 EVK
UV 28 ED
UV 28 EV
UV 28 EVD
UV 30 EV
UV 30 EVD
UV 32 EV
UV 29 EV
UV 29 EV
UV 29 EVK
UV 29 EVD
Data Sheet
Chassis, Wheels, Roller
Handlebar, Switch
Cover, Motor
grass collector
UV 29 EV
UV 30 EV
UV 32 EV
Others
Petrol
Aerator
Mowers
Ride-on Mowers
Petrol engines
Optional extras
Condiciones
(C) by motoruf