volver a
>
Scarifiers / Aerators
>
Scarifiers
>
Electro
>
UV
>
UV 29 EVD
>
Cover, Motor
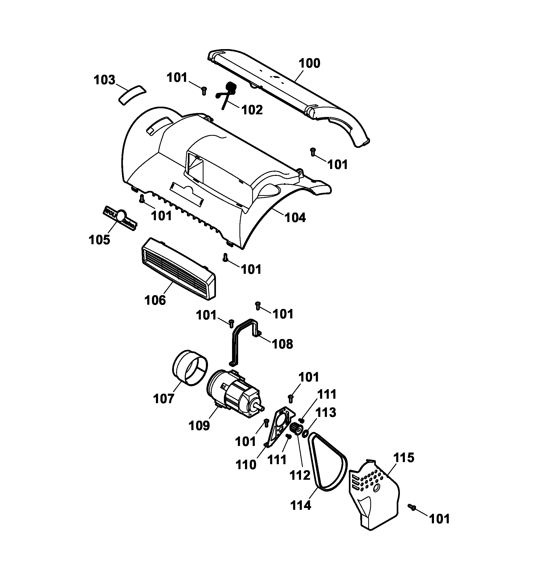
Lista de repuestos para Wolf Scarifiers / Aerators Cover, Motor
pos.
descripción
Número de pieza
100
Rear Flap
3618 312
101
Screw
0012 634
102
Spring
3618 102
103
Label
3618 204
***
cover
3618 035
104
Motor Covering
3618 304
105
Wolf-Garten - Label
0051 115
106
Air conduction
3618 308
107
Air-Conduction
3618 318
108
engine support
3618 311
109
Motor
1121 090
110
Motor Holder
3618 103
111
Screw
0012 854
112
Crown Gear
3618 104
113
Speedfix Retainer
0020 697
114
Toothed Belt 475-5M-12
0039 009
115
Cover For Toothed Belt
3618 306
Wolf
Handtools
Hedge-shears
Secateurs
Grass-shears
Loppers
Tree Lopper
Tree care
Illumination, Ambiance
Battery-shears
Shredders
Saws
Grass-Trimmers
Reel-mowers
Spreaders / Portax
Irrigation
Scarifiers / Aerators
Scarifiers
Hand
Electro
UV
UV 30 EL
UV 30 EL
UV 30 EL
UV 30 EV
UV 30 EV
UV 30 EV
UVEL
UV 30 EV
Olympia V Plus
UV 32 EL
UV 32 EL
UV 32 EL
UV 32 EL
UR-ES
UV 32 EL
UV 32 EV
UV 32 EV
UV 32 E / A
UV 32 EV
UV 32 EV
UV 32 EV / A
UV 34 E
UV 34 E
UV 32 E
UV 32 E
UV 32 E
UV 32 E
UV 28 EV
UV 28 EV
UV 30 EV
UV 30 EV
UV 32 EV
UV 32 EV
UVES
UV 34 E
UV 34 E
UV 30 EV
UV 30 EV
UV 32 EV
UV 32 EV
UV 34 E
UV 34 E
UV 28 EV
UVE
UV 28 EVK
UV 28 ED
UV 28 EV
UV 28 EVD
UV 30 EV
UV 30 EVD
UV 32 EV
UV 29 EV
UV 29 EV
UV 29 EVK
UV 29 EVD
Data Sheet
Chassis, Wheels, Roller
Handlebar, Switch
Cover, Motor
grass collector
UV 29 EV
UV 30 EV
UV 32 EV
Others
Petrol
Aerator
Mowers
Ride-on Mowers
Petrol engines
Optional extras
Condiciones
(C) by motoruf