volver a
>
Mowers
>
Petrol
>
Without drive up to 42 cm
>
series 2
>
2.42 B, Good-Line
>
Sprint 40 Fixspeed
>
Flywheel, Electrical, Brake
Lista de repuestos para Wolf Mowers Flywheel, Electrical, Brake
pos.
descripción
Número de pieza
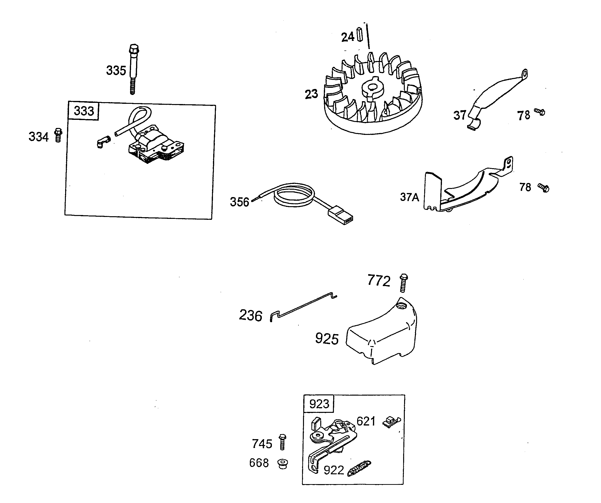
23
Flywheel
2056 184
24
Flywheel Pin
2057 130
37
Guard-Flywheel
2056 178
37 A
Guard-Flywheel
2079 100
78
Screw
2056 189
236
Rod
2079 105
333
Armature-Magneto
2003 051
334
Screw
2003 103
335
Screw
2056 172
356
Harness-Alternator
2057 183
621
Switch-Stop
2063 131
668
Shell
2056 174
745
Screw
2056 140
772
Screw
2056 168
922
Spring
2056 141
923
Brake
2056 142
925
Cover
2056 115
Wolf
Handtools
Hedge-shears
Secateurs
Grass-shears
Loppers
Tree Lopper
Tree care
Illumination, Ambiance
Battery-shears
Shredders
Saws
Grass-Trimmers
Reel-mowers
Spreaders / Portax
Irrigation
Scarifiers / Aerators
Mowers
Accu
Petrol
Without drive up to 42 cm
series 2
2.42 T
2.42 TL
2.42 B
2.42 T
2.42 TL
2.42 TLK
2.42 BS
2.42 TV
2.42 TP
2.40 BQ
2.40 BS
2.40 H
2.40 BC
2.38 TV
2.40 BS
2.40 H
2.40 BC
2.42 B, Good-Line
Data Sheet
Chassis
Axle, Wheels, Height-adjustment
Handlebar compl.
Motor, Blade
Grass collector Good-Line 42
Sprint 40 Fixspeed
Cylinder assembly
Piston, Connecting rod, Valves
Crankshaft, Sump bases
Carburetor, Fuel tank
Control
Flywheel, Electrical, Brake
Air cleaner, Muffler
Covers, Blower housing
Gasket set
2.40 B
2.40 BT
series 4
series 6
Premio
Power Edition
Esprit
Moto-Verte
Others
Compact Plus
Without drive from 43 cm on
Drive up to 42 cm
Drive from 43 cm on
Electric start / Touch 'n Mow
Electro
Ride-on Mowers
Petrol engines
Optional extras
Condiciones
(C) by motoruf