volver a
>
Mowers
>
Petrol
>
Without drive up to 42 cm
>
series 2
>
2.42 B, Good-Line
>
Motor, Blade
Lista de repuestos para Wolf Mowers Motor, Blade
pos.
descripción
Número de pieza
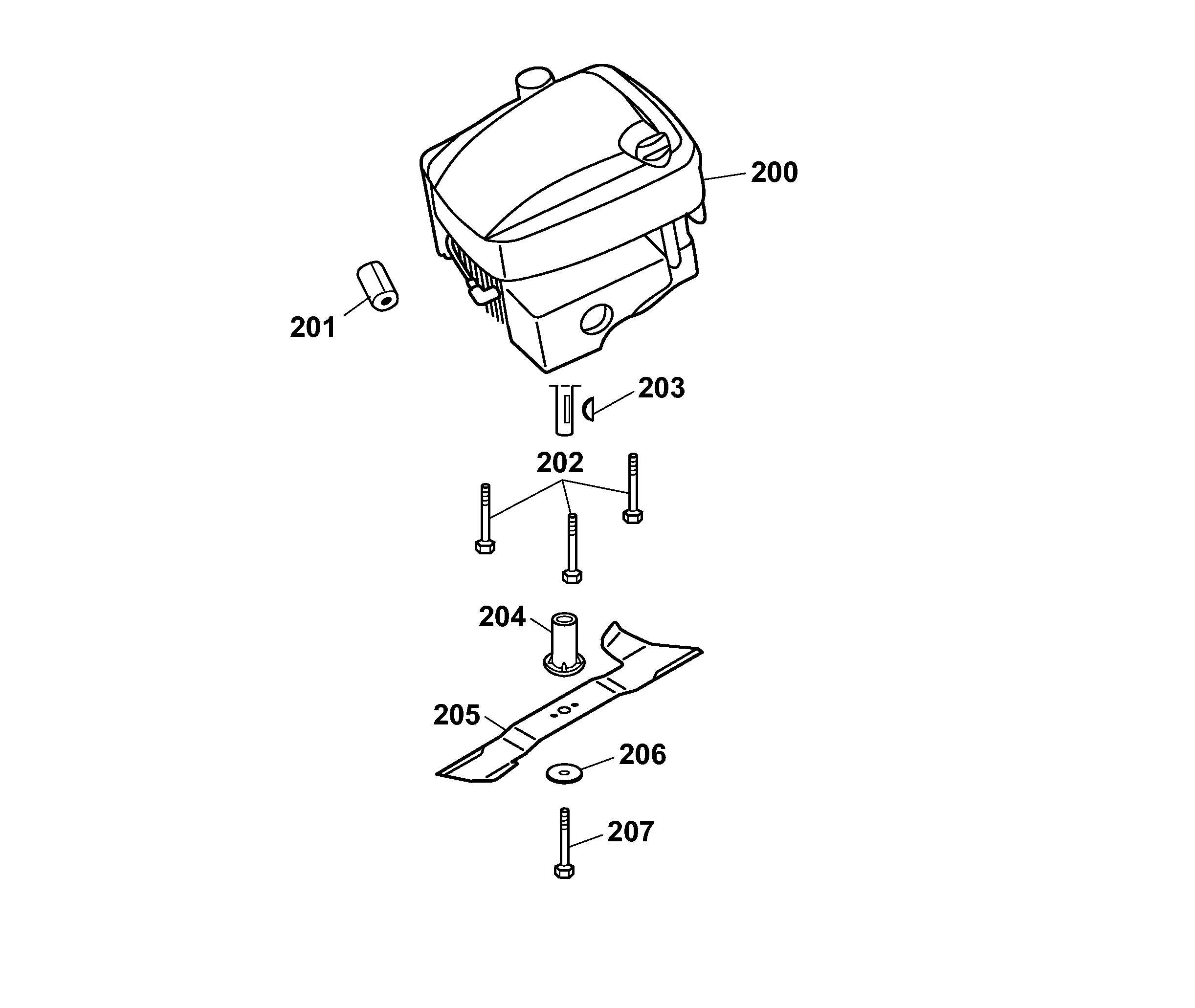
200
Motor
2079 070
201
Ferrite
4933 105
202
Srew 3/8"
0010 273
203
Key
0029 130
204
Cutter Bar Flange
4212 405
205
Cutter Bar Vi 42 S
4212 094
206
Belleville Spring Washer
0017 106
207
Srew 3/8"
0010 275
Wolf
Handtools
Hedge-shears
Secateurs
Grass-shears
Loppers
Tree Lopper
Tree care
Illumination, Ambiance
Battery-shears
Shredders
Saws
Grass-Trimmers
Reel-mowers
Spreaders / Portax
Irrigation
Scarifiers / Aerators
Mowers
Accu
Petrol
Without drive up to 42 cm
series 2
2.42 T
2.42 TL
2.42 B
2.42 T
2.42 TL
2.42 TLK
2.42 BS
2.42 TV
2.42 TP
2.40 BQ
2.40 BS
2.40 H
2.40 BC
2.38 TV
2.40 BS
2.40 H
2.40 BC
2.42 B, Good-Line
Data Sheet
Chassis
Axle, Wheels, Height-adjustment
Handlebar compl.
Motor, Blade
Grass collector Good-Line 42
Sprint 40 Fixspeed
2.40 B
2.40 BT
series 4
series 6
Premio
Power Edition
Esprit
Moto-Verte
Others
Compact Plus
Without drive from 43 cm on
Drive up to 42 cm
Drive from 43 cm on
Electric start / Touch 'n Mow
Electro
Ride-on Mowers
Petrol engines
Optional extras
Condiciones
(C) by motoruf