volver a
>
Scarifiers / Aerators
>
Scarifiers
>
Petrol
>
UV-P
>
Chassis, Cover
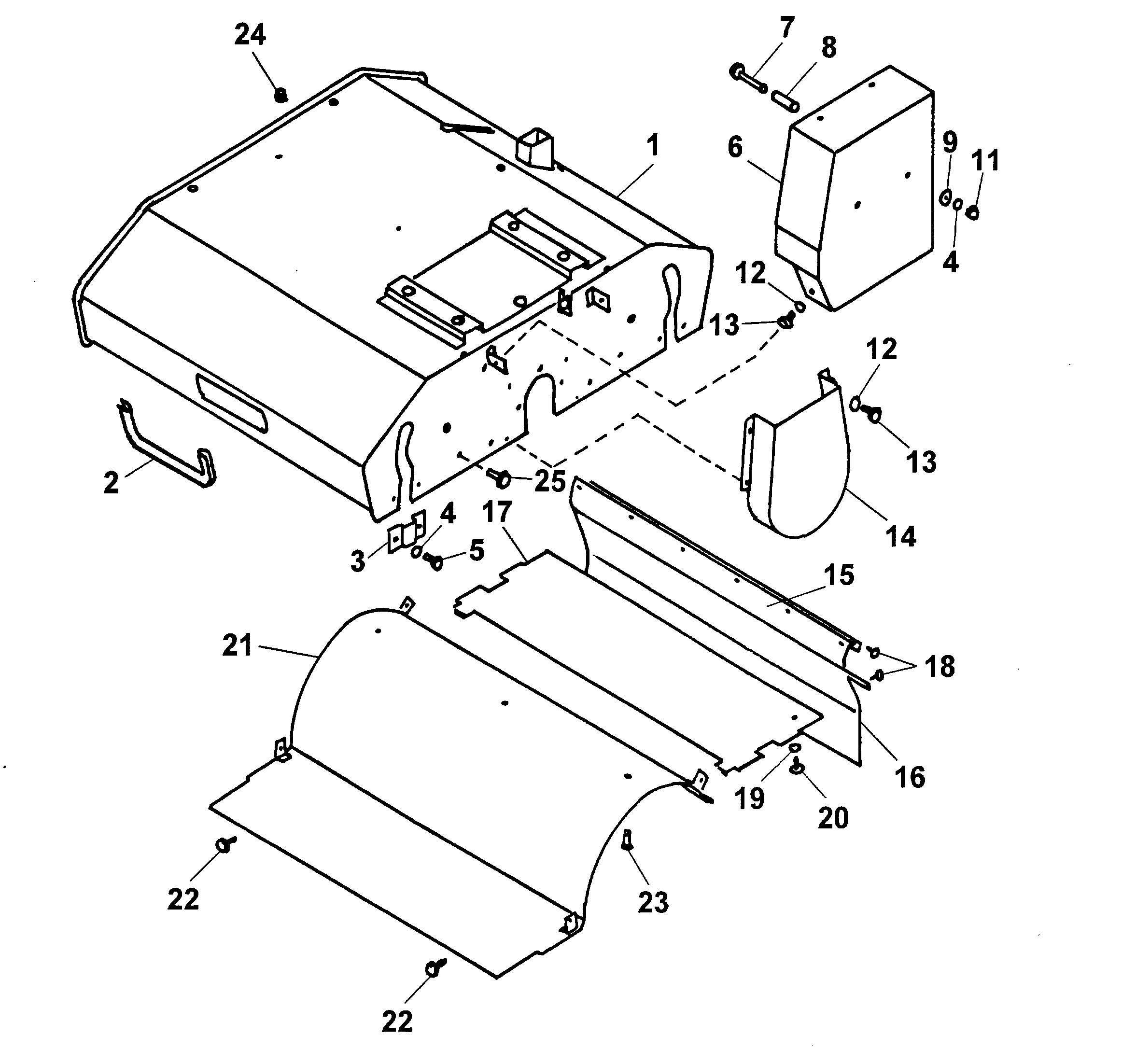
Lista de repuestos para Wolf Scarifiers / Aerators Chassis, Cover
pos.
descripción
Número de pieza
1
Chassis
3589 036
2
Header
3577 215
3
Supporting sheet metal
3589 016
4
Washer Spring
0017 908
5
Screw M6X12 Din 933 8.8
0010 383
6
V-Belt Cover
3589 312
7
Screw
0012 266
8
Shell
3589 222
9
Washer
0017 289
10
Washer Spring
0017 908
11
Nut
0016 602
12
Washer
0017 121
13
Screw
0015 537
14
v-belt protection
3589 035
15
Lip
3589 310
16
Gum
3589 309
17
Guard-Flywheel
3589 308
18
Screw
0015 683
19
Flat Washer 4.3 Din 125 A
0017 119
20
Round Head Screw
0012 912
21
Deflector-Muffler
3589 018
22
Screw
0015 639
23
Screw
0012 864
24
Hex. Nut
0016 310
25
Screw
0015 659
Wolf
Handtools
Hedge-shears
Secateurs
Grass-shears
Loppers
Tree Lopper
Tree care
Illumination, Ambiance
Battery-shears
Shredders
Saws
Grass-Trimmers
Reel-mowers
Spreaders / Portax
Irrigation
Scarifiers / Aerators
Scarifiers
Hand
Electro
Petrol
UV 32 B
UV 32 B
UV 32 B
UR-K
UV 38 B
UV 38 BX
UV-P
Data Sheet
Motor, Kupplung, Vertikulierwalze
Chassis, Cover
Handlebar, Shift parts
Wheels, Height-adjustment
UV 32 B
UV 35 B
UV 40 H
Aerator
Mowers
Ride-on Mowers
Petrol engines
Optional extras
Condiciones
(C) by motoruf