volver a
>
Roth / TORO
>
Hand operated
>
Lawnmower
>
2-stroke SP
>
237/22044 BC
>
5900001
>
Traction Control Assy.
Lista de repuestos para Toro Roth / TORO Traction Control Assy.
pos.
descripción
Número de pieza
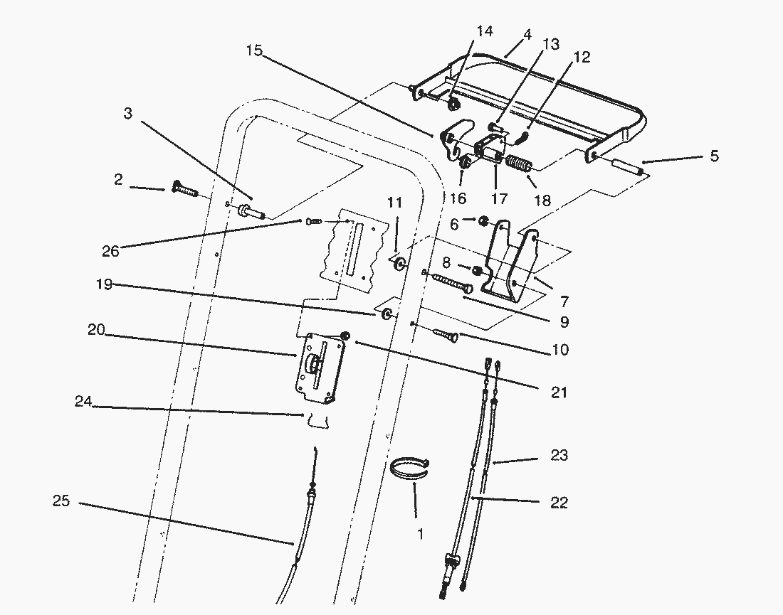
1
Tie Wrap
3290-378
2
Screw-Handle
17-9427
3
Support-Spacer
49-1631
4
Bar-Control
84-8940
5
Spacer-Control Bracket
84-9030
6
MUTTER
3296-29
7
Bracket-Control
92-1778
8
MUTTER
3296-42
9
Screw-Cap Hex. Hd.
322-19
10
SCHRAUBE
46-6430
11
Spacer
71-9310
12
Pin-Cotter
3272-1
13
Pin-Cable
84-9040
14
Nut-Flange Lock
3296-58
15
Lever-Traction
84-9000
16
Bushing-Nylon Flange
86-9320
17
Lever-BBC
84-8990
18
Spring-Control
85-6750
19
Spacer
71-9320
20
Control-Throttle
85-6770
21
Nut
3296-2
22
Cable-Traction
84-9120
23
Cable-Clutch
84-9110
24
Retainer-Throttle Control
85-6780
25
Cable-Throttle
85-6760
26
Screw-Pan Hd.
3250-14
Toro
Roth / TORO
Ride-On Mowers
Hand operated
Sweeper
Snowthrower
Vac/Blower
Lawnmower
Grass Baggers
4-stroke SP
4-stroke
2-stroke SP
295/26643
295/26643 B
295/26640 BC
295/26640 B
287/20916B
277
255/22700 BC
255/22700
239
237/22045
237/22045 B
237/22044 BC
5900001
Carburetor Assy. (Model No. 47PR4-7)
Recoil Assy. (Model No. 47PR4-7)
Governor Assy. (Model No. 47PR4-7)
Ignition Assy. (Model No. 47PR4-7)
Muffler Assy. (Model No. 47PR4-7)
Crankshaft Assy. (Model No. 47PR4-7)
Bag Assy. No. 11-5609
Fuel Tank Assy.
Traction Control Assy.
Handle Assy.
Gearbox Assy. (Cont.)
Gearbox Assy.
Blade Brake Clutch Assy.
Engine Assy.
Housing Assy. (Cont.)
Housing Assy.
237/22036
237/22035
234
224
222/16212 WG
2-stroke
Electric
Battery
Robin
Condiciones
(C) by motoruf