volver a
>
Roth / TORO
>
Hand operated
>
Lawnmower
>
2-stroke SP
>
295/26640 B
>
4900001
>
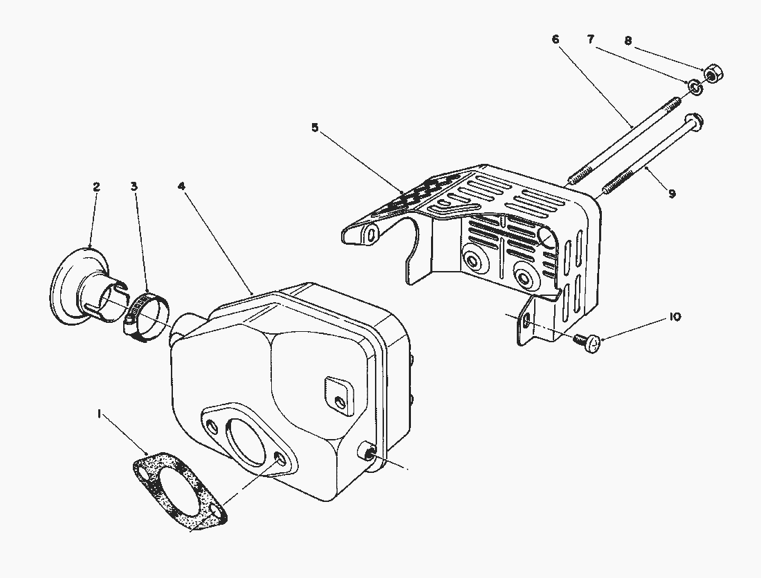
Muffler Assy. (Model No. 47PP3-6)
Lista de repuestos para Toro Roth / TORO Muffler Assy. (Model No. 47PP3-6)
pos.
descripción
Número de pieza
1
DICHTUNG
81-1080
2
81-0200
3
4
AUSPUFF
81-5690
5
SCHUTZGITTER
81-2450
6
STEHBOLZEN
81-1100
7
FEDERRING
81-1120
8
SECHSKANTMUTTER
81-1110
9
SCHRAUBE
81-1150
10
SCHRAUBE
81-1140
Toro
Roth / TORO
Ride-On Mowers
Hand operated
Sweeper
Snowthrower
Vac/Blower
Lawnmower
Grass Baggers
4-stroke SP
4-stroke
2-stroke SP
295/26643
295/26643 B
295/26640 BC
295/26640 B
4900001
Muffler Assy. (Model No. 47PP3-6)
Carburetor Assy. (Model No. 47PP3-6)
Governor Assy. (Model No. 47PP3-6)
Recoil Assy. (Model No. 47PP3-6)
Ignition Assy. (Model No. 47PP3-6)
ShortBlock Assy. (Model No. 47PP3-6)
Bag Assy.
Traction Control Assy.
Handle Assy.
Gearbox Assy. (Cont.)
Gearbox Assy.
Blade Assy.
Engine Assy.
Housing Assy.
3900001
287/20916B
277
255/22700 BC
255/22700
239
237/22045
237/22045 B
237/22044 BC
237/22036
237/22035
234
224
222/16212 WG
2-stroke
Electric
Battery
Robin
Condiciones
(C) by motoruf