volver a
>
Roth / TORO
>
Ride-On Mowers
>
Traktor
>
15-44 HXL
>
393/71216
>
59000001
>
Hydro Transaxle Assy. (Cont.)
Lista de repuestos para Toro Roth / TORO Hydro Transaxle Assy. (Cont.)
Lista de repuestos 1
Lista de repuestos 2
Lista de repuestos 3
pos.
descripción
Número de pieza
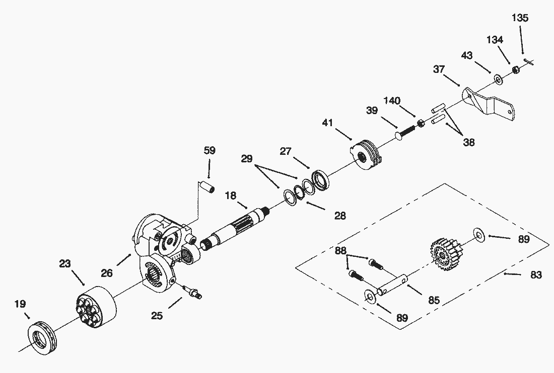
7
Bearing-Cradle
94-1905
8
Bearing-Thrust
94-1906
9
Swashplate-Variable
94-1907
13
Block-Cylinder Ass y
94-1908
14
Arm-Trunion
94-1909
15
Seal-Lip
92-6544
17
Guide-Slot
94-1910
44
Differential Ass y
94-1921
52
Washer
94-1922
53
Seal
94-1924
56
Shaft-Input
94-1925
90
Sleeve Bearing
94-1934
91
Seal-Wiper
94-1935
92
Spring-Block
94-1936
93
Washer-Block Thrust
94-1937
pos.
descripción
Número de pieza
18
Shaft-Motor
94-1911
19
Bearing-Thrust
94-1912
23
Block-Cyl. Motor Ass y
94-1913
25
Actuator-Bypass
94-1914
26
Center Section Ass y
94-1915
27
Seal-Up
94-1916
28
Ring-Retaining
94-1917
29
Washer
94-1918
37
Arm-Actuating
88-6230
38
Pin-Actuating
92-6549
39
Bolt
94-1923
41
Brake Rotor/Stator Kit
94-1919
43
Washer
5-4460
59
Pin
94-1927
83
Jackshaft/Pinion Gear Ass y
94-1930
85
Jackshaft
94-1931
88
Capscrew
94-1932
89
Washer
94-1933
134
Nut-Castle
93-3807
135
Cotter Pin
3272-7
140
Locknut
3296-20
pos.
descripción
Número de pieza
1
Housing-Lower
94-1900
34
Oil Filter Element
94-1920
58
Bolt
194-1926
Toro
Roth / TORO
Ride-On Mowers
Traktor
264-6
246 HE
244-5
212-H
212-5
17-44 HXLE
16-44 HXL
16-38 HXL
16-38 XLE
15-44 HXL
393/71216
59000001
Engine B&S Model 28Q777-0168-01
Electrical Assy.
HOC Assy.
Speed Control Assy.
Hydro Transaxle Assy. (Cont.)
Hydro Transaxle Assy.
Transaxle Assy.
Rear Axle Assy.
Clutch Assy.
Engine Assy.
Front Axle Assy.
Steering Assy.
Seat Assy.
Frame Assy.
Hood Assy.
15-38 HXL
14-38 HXL
14-38 XL
13-38 HXL
13-38 XL
13-32 XLE
12-38 HXL
12-38 XL
12-32 XL
264 H
265 H
267 H
268 H
270 H
520 xi
520 Lxi
523 Dxi
Rider
Mower decks
Attachements
Hand operated
Robin
Condiciones
(C) by motoruf