volver a
>
Petrol engines
>
Honda
>
GCV
>
GCV 160
>
sump-engine
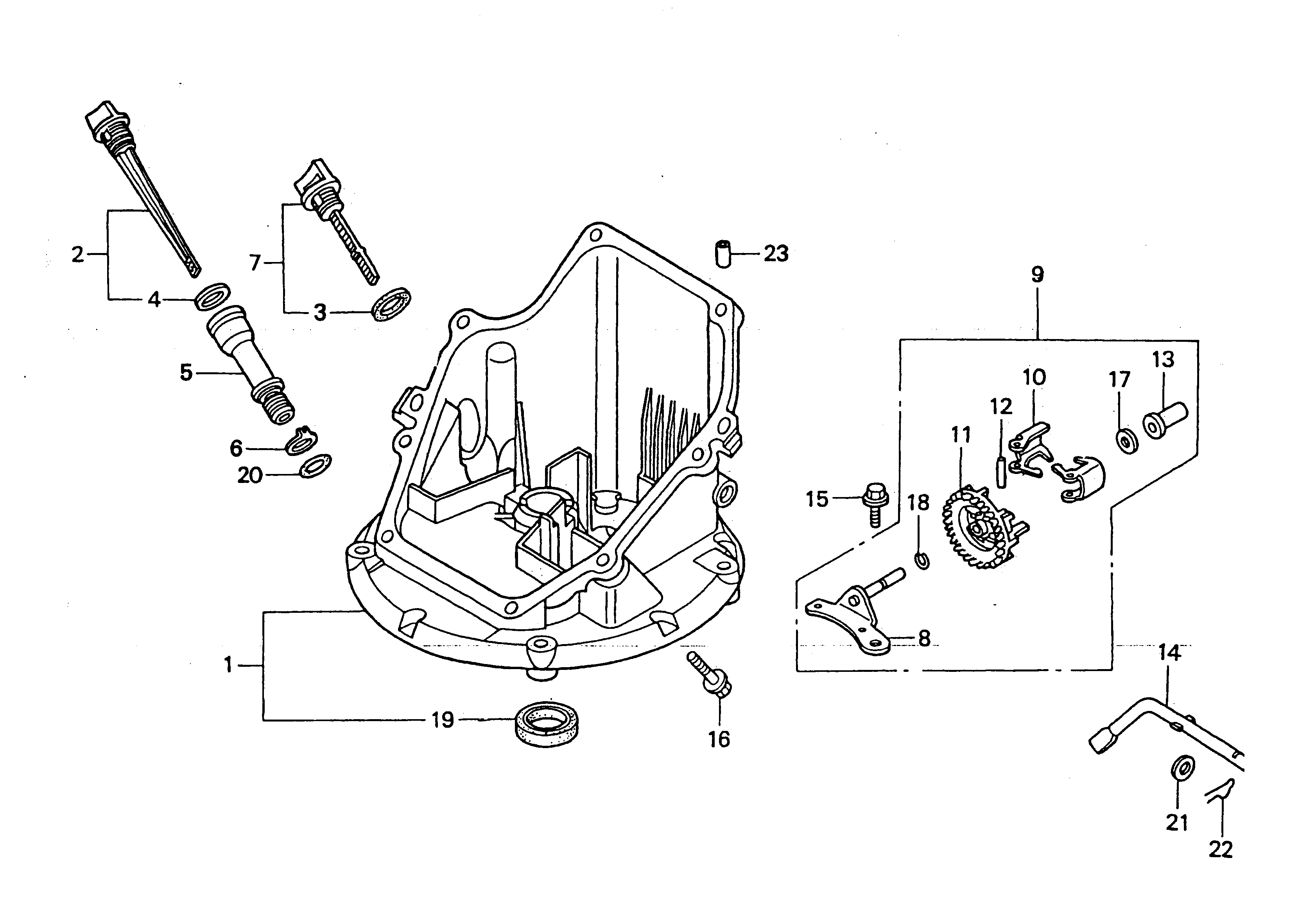
Lista de repuestos para Wolf Petrol engines sump-engine
pos.
descripción
Número de pieza
1
Sump Base
2098 351
2
Oil Dipstick Gasket
2098 413
4
Seal
2098 311
5
Tube-Dipstick
2098 410
6
Washer
2098 135
7
Oil Dipstick Gasket
2098 407
8
Arm
2098 415
9
Governor-Assy
2098 028
10
Weight-Governor
2098 416
11
Governor Cogging
2098 417
12
Pin
2098 134
13
Sliding Bushing
2098 139
14
Crank - Governor
2098 418
15
Screw
2098 106
16
Screw
2098 110
17
Thrust Washer
2098 115
18
Clamp
2098 117
19
Seal Oil Pipe
2098 319
20
Seal-Dipstick Tube
2098 321
21
Washer
2098 123
22
Pin-Counterweight
2098 125
23
Pin
2098 126
Wolf
Handtools
Hedge-shears
Secateurs
Grass-shears
Loppers
Tree Lopper
Tree care
Illumination, Ambiance
Battery-shears
Shredders
Saws
Grass-Trimmers
Reel-mowers
Spreaders / Portax
Irrigation
Scarifiers / Aerators
Mowers
Ride-on Mowers
Petrol engines
Tecumseh
Briggs & Stratton
Honda
GCV
GCV 160
GCV 160
cylinder assembly
sump-engine
crankshaft
piston
valves
fuel tank
carburetor
control
flywheel
air cleaner
muffler
recoil
GCV 135 N1S
Motor Honda GCV 135
GCV 135 A2
GCV 160
GXV
Kawasaki
Optional extras
Condiciones
(C) by motoruf