volver a
>
Petrol engines
>
Briggs & Stratton
>
Intek
>
Intek OHV
>
carburetor
Lista de repuestos para Wolf Petrol engines carburetor
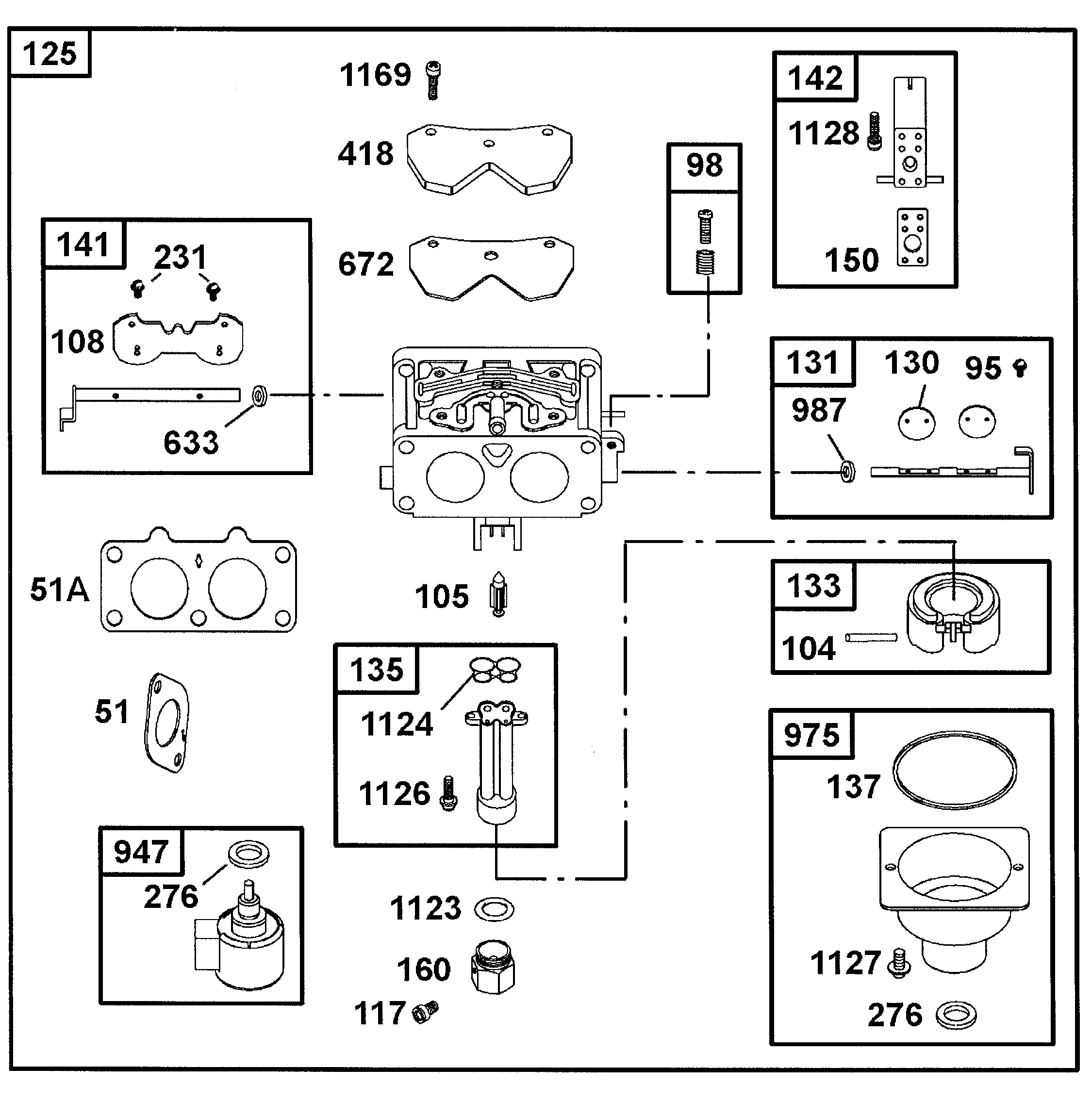
pos.
descripción
Número de pieza
51
Seal
1002 302
51A
Seal
1002 330
95
Screw
1002 150
98
Screw
1002 017
104
Bolt
1002 168
105
Valve-Float Needle
1002 169
108
Flap Choke
1002 170
117
Main Jet
1002 171
117
Main Jet
1002 138
125
Carburetor
1002 036
130
Throttle Valve
1002 336
131
Kit-Throttle Shaft
1002 030
133
Float-Carburetor
1002 032
135
Carbon Brush Set
1002 015
137
Seal
1002 337
141
Kit-Throttle Shaft
1002 016
142
Nozzle-Carburetor
1002 034
150
Gasket-Nozzle
1002 338
160
Nut
1002 175
231
Screw
1002 150
276
Washer
1002 176
418
Plate-Carburetor
1002 178
633
Washer
1002 177
672
Seal
1002 324
947
Solenoid
1002 137
975
Bowl-Float
1002 035
987
Washer
1002 179
1123
Seal-Dipstick Tube
1002 334
1124
Seal
1002 335
1126
Screw
1002 173
1127
Screw
1002 174
1128
Screw
1002 172
1169
Screw
1002 172
Wolf
Handtools
Hedge-shears
Secateurs
Grass-shears
Loppers
Tree Lopper
Tree care
Illumination, Ambiance
Battery-shears
Shredders
Saws
Grass-Trimmers
Reel-mowers
Spreaders / Portax
Irrigation
Scarifiers / Aerators
Mowers
Ride-on Mowers
Petrol engines
Tecumseh
Briggs & Stratton
Quattro
Quantum
Diamond
Intek
Intek 60
Intek OHV
head assemblies
cylinder group, sump base
rocker covers, manifold
crankshaft, piston group, connecting rod, valve group
oil group, fuel pump group
carburetor
gasket set
controls
blower housing, air cleaner, air guides
flywheel, electrical
electric starter
Intek Edge SV
Intek Edge OHV
Intek Edge OHV
Sprint
Classic
Honda
Kawasaki
Optional extras
Condiciones
(C) by motoruf