volver a
>
Mowers
>
Petrol
>
Drive up to 42 cm
>
Esprit
>
Esprit 40 BA
>
Quattro 40
>
Flywheel, Electrical, Brake
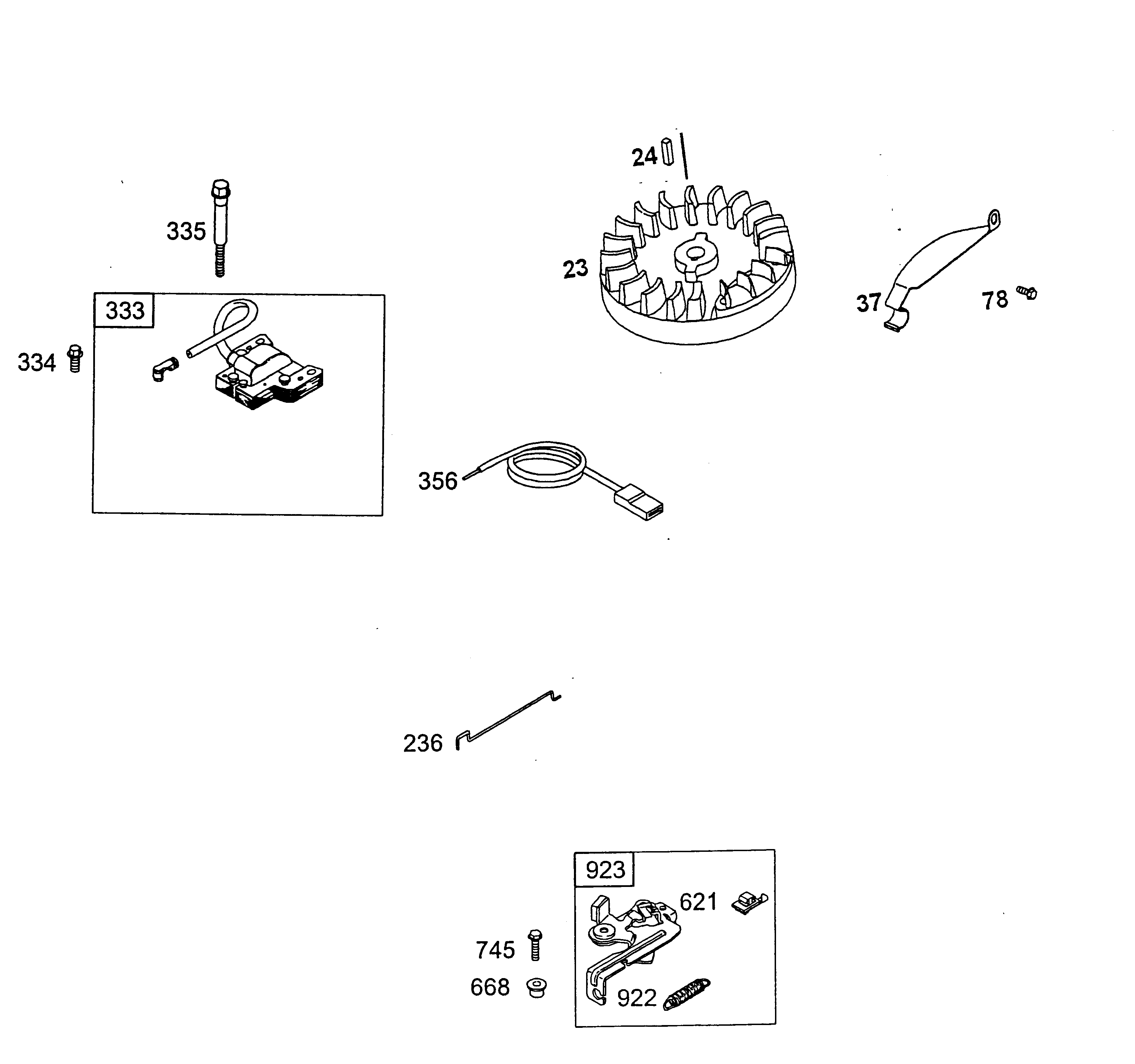
Lista de repuestos para Wolf Mowers Flywheel, Electrical, Brake
pos.
descripción
Número de pieza
23
Flywheel
2056 184
24
Flywheel Pin
2057 130
37
Guard-Flywheel
2056 178
78
Screw
2063 314
236
Rod
2059 312
333
Armature-Magneto
2003 051
334
Screw
2003 103
335
Screw
2003 104
356
Harness-Alternator
2057 183
621
Switch-Stop
2063 131
668
Shell
2063 221
745
Screw
2056 140
922
Spring
2056 141
923
Brake
2056 142
Wolf
Handtools
Hedge-shears
Secateurs
Grass-shears
Loppers
Tree Lopper
Tree care
Illumination, Ambiance
Battery-shears
Shredders
Saws
Grass-Trimmers
Reel-mowers
Spreaders / Portax
Irrigation
Scarifiers / Aerators
Mowers
Accu
Petrol
Without drive up to 42 cm
Without drive from 43 cm on
Drive up to 42 cm
series 2
series 6
Premio
Power Edition
Esprit
Esprit 40 BA
Data Sheet
Chassis
Axle, Wheels, Height-adjustment
Handlebar compl.
Motor, Blade
Grass collector Esprit
Quattro 40
Cylinder assembly
Piston, Connecting rod, Valves
Crankshaft, Sump bases
Carburetor, Fuel tank
Controls electrical
Flywheel, Electrical, Brake
Air cleaner, Muffler
Cover, Blower housing
Gasket set
Esprit 40 BAK
Esprit 40 TA
Esprit 40 BA
Esprit 40 BA
Esprit 40 BA
Esprit 40 HA
Others
Compact Plus
Drive from 43 cm on
Electric start / Touch 'n Mow
Electro
Ride-on Mowers
Petrol engines
Optional extras
Condiciones
(C) by motoruf