volver a
>
Mowers
>
Petrol
>
Drive from 43 cm on
>
Esprit
>
Esprit 46 BA Fixspeed
>
Q 48 Fixspeed
>
Electrical, Rewind - starter
Lista de repuestos para Wolf Mowers Electrical, Rewind - starter
pos.
descripción
Número de pieza
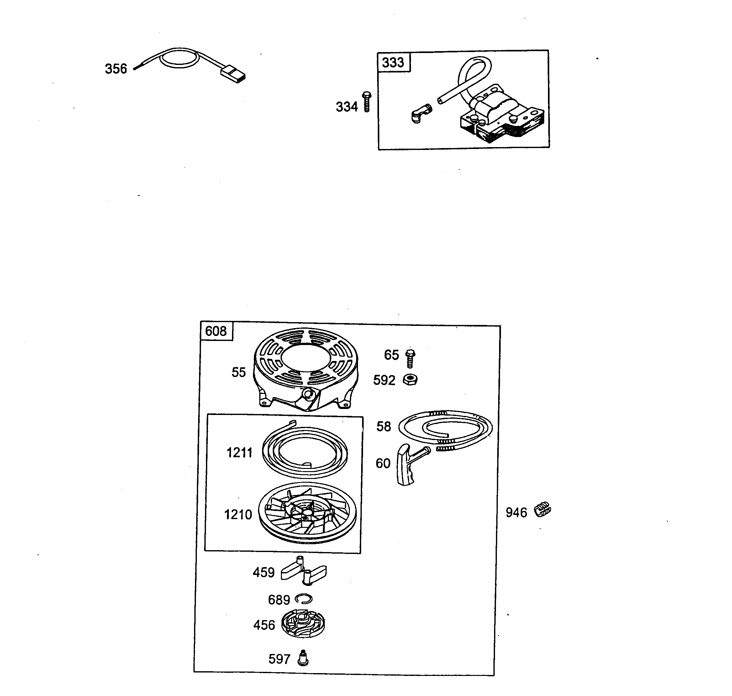
333
Armature-Magneto
2063 056
334
Screw
2003 103
356
Wire-Stop
2059 317
55
Housing-Rewind Starter
2069 412
58
Rope - Starter
2063 604
60
Grip - Starter Rope
2069 300
65
Screw
1001 158
456
Catch Disk
2056 313
459
Arm
2069 302
592
Nut
1001 156
597
Screw
1034 438
608
Starter-Rewind
2069 012
689
Lock-Piston Pin
2056 185
946
Stop-Rope
2069 416
1210/11
Pulley-Starter
2057 184
Wolf
Handtools
Hedge-shears
Secateurs
Grass-shears
Loppers
Tree Lopper
Tree care
Illumination, Ambiance
Battery-shears
Shredders
Saws
Grass-Trimmers
Reel-mowers
Spreaders / Portax
Irrigation
Scarifiers / Aerators
Mowers
Accu
Petrol
Without drive up to 42 cm
Without drive from 43 cm on
Drive up to 42 cm
Drive from 43 cm on
series 2
series 4
series 6
Moto-Verte
Concept
Premio
Power Edition
Esprit
Esprit 46 BA
Esprit 46 B
Esprit 46 BA
Esprit 46 TMA
Esprit 46 BA
Esprit 46 TMA
Esprit 46 BA Fixspeed
Data sheet
Chassis
Axle, Wheels, Height-adjustment
Handlebar compl.
Motor, Blade
grass collector
MK 40 (4011 075) Mulchkit
Q 48 Fixspeed
Cylinder assembly
Piston, Crankshaft, Valves, Sump bases
Carburetor (primer system)
Regelung, Polrad, Bremse
Covering cap, Fuel tank, Blower housing
Air cleaner, Muffler
Electrical, Rewind - starter
Gasket set
Esprit 46 BA
Esprit 46 HA
Others
Electric start / Touch 'n Mow
Electro
Ride-on Mowers
Petrol engines
Optional extras
Condiciones
(C) by motoruf