volver a
>
Mowers
>
Accu
>
Without drive
>
Picco
>
Picco 32 Accu
>
Cover, Motor, Blade
Lista de repuestos para Wolf Mowers Cover, Motor, Blade
pos.
descripción
Número de pieza
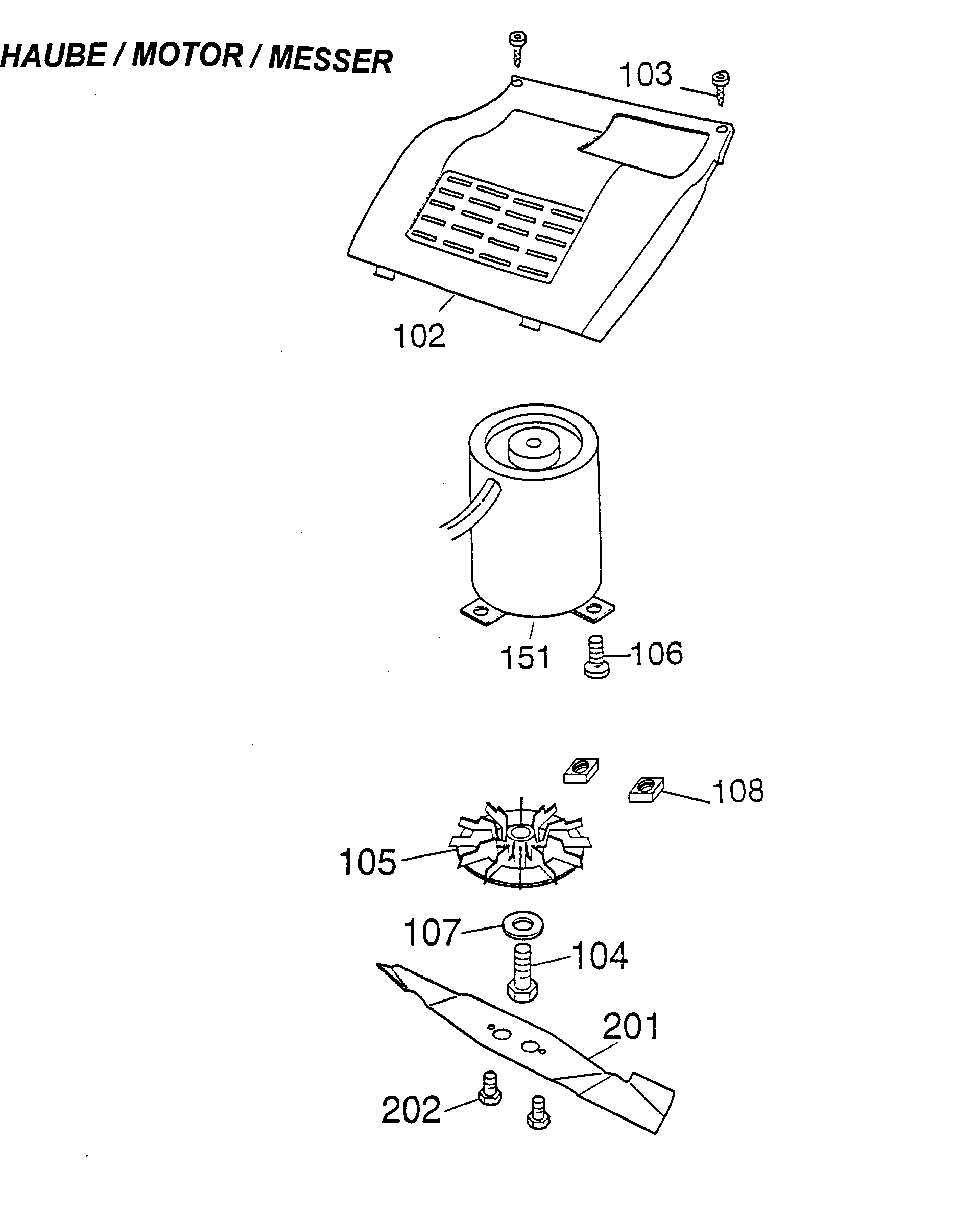
102
Motor Cover
4911 301
103
Screw
0012 625
104
Hex Screw M8 X 20 Din 933 8.8
0010 402
105
Fan
4911 319
106
Screw
0012 876
107
Washer A 8,4 Din 125
0017 123
108
Square Nut
0016 405
151
Motor
1059 050
201
Blade Vi132An
4911 097
202
Hex. Screw M6X16
0010 366
***
Boost Charger Slg 300
4911 072
***
Instruction Manual
0054 114
***
Poly Bag With Operator Manual
4911 025
***
Assembly Instructions
4911 228
Wolf
Handtools
Hedge-shears
Secateurs
Grass-shears
Loppers
Tree Lopper
Tree care
Illumination, Ambiance
Battery-shears
Shredders
Saws
Grass-Trimmers
Reel-mowers
Spreaders / Portax
Irrigation
Scarifiers / Aerators
Mowers
Accu
Without drive
series 2
series 6
Picco
Picco 32 Accu
Picco 32 Accu
Picco 32 Accu
Picco 32 Accu
Picco 32 Accu
Picco 32 Accu
Data Sheet
Chassis, grass box
Wheels, Axle
Handlebar, Switch, Battery
Cover, Motor, Blade
Picco 32 Accu
Picco 32 Accu
Picco 32 Accu
Esprit
Premio
Concept
Drive
Petrol
Electro
Ride-on Mowers
Petrol engines
Optional extras
Condiciones
(C) by motoruf