volver a
>
Mowers
>
Electro
>
Without drive up to 38 cm
>
Others
>
HBM 32 E
>
Chassis
Lista de repuestos para Wolf Mowers Chassis
pos.
descripción
Número de pieza
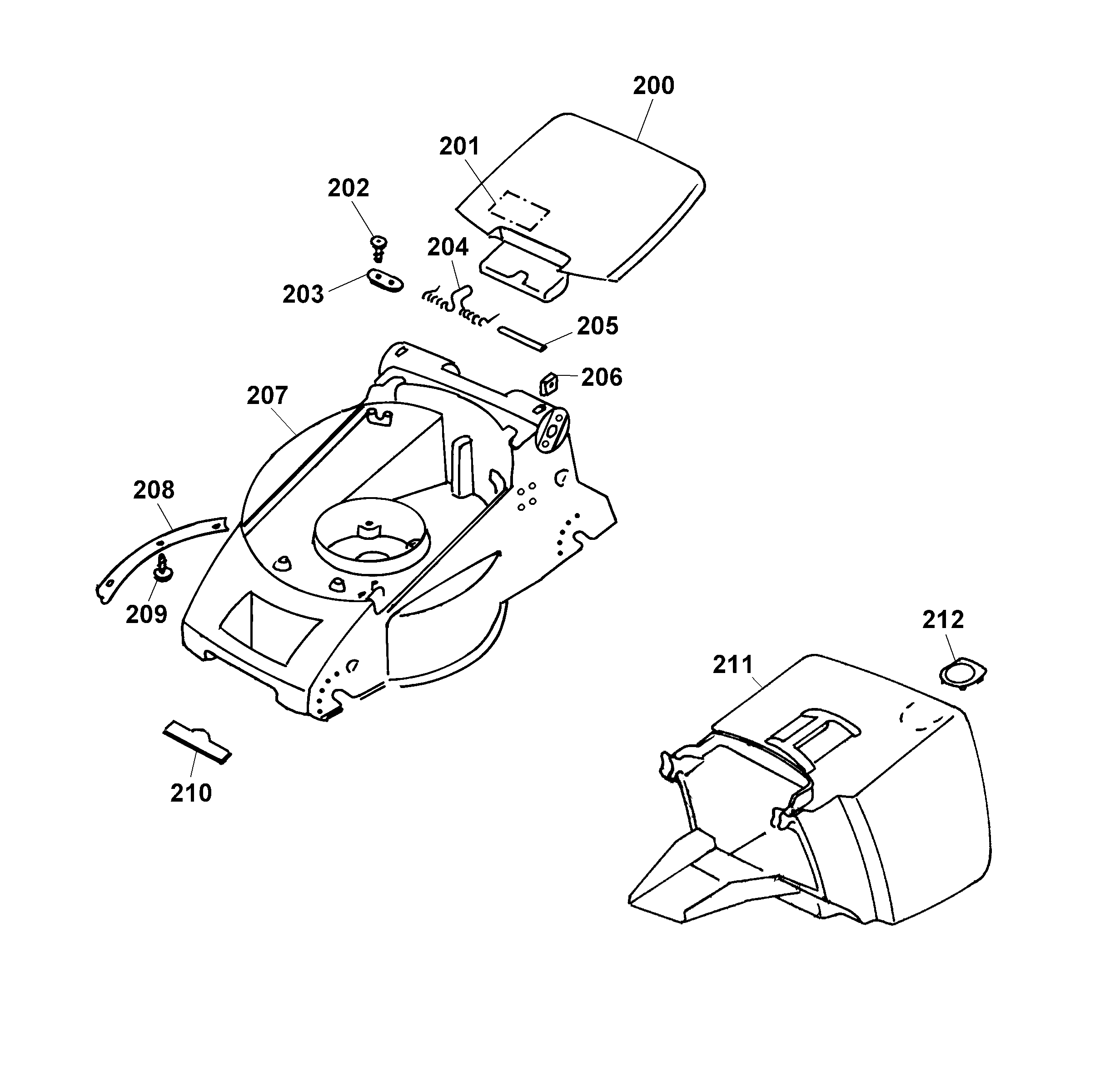
200
Rear Flap
4932 303
201
Safety Label
0051 225
202
Screw
0012 625
203
Clamp-Casing
4557 208
204
Spring
4936 217
205
Pivot Pin
4932 208
206
Nut
0016 409
207
Chassis
4932 360
208
Reinforcing Insert
4932 112
209
Screw
0012 899
210
Wolf-Garten - Label
0051 115
211
Grass Box
4932 066
212
Blanking Plug
4906 315
Wolf
Handtools
Hedge-shears
Secateurs
Grass-shears
Loppers
Tree Lopper
Tree care
Illumination, Ambiance
Battery-shears
Shredders
Saws
Grass-Trimmers
Reel-mowers
Spreaders / Portax
Irrigation
Scarifiers / Aerators
Mowers
Accu
Petrol
Electro
Without drive up to 38 cm
series 2
series 4
series 6
Picco
Premio
Power Edition
Esprit
Compact Plus
Others
Olympia E Plus
Olympia E Plus
Olympia E Plus
Olympia E Plus
32 EK
HBM 32 E
Data Sheet
Chassis
Axle, Wheels, Height-adjustment
Handlebar compl.
Motor, Blade
32 EK
HBM 32 E
HC 37 K
P32E9
Without drive from 40 cm on
Drive
Ride-on Mowers
Petrol engines
Optional extras
Condiciones
(C) by motoruf