volver a
>
Mowers
>
Petrol
>
Without drive from 43 cm on
>
Concept
>
Concept 43 K "KIR"
>
FC 150 V
>
Carburetor
Lista de repuestos para Wolf Mowers Carburetor
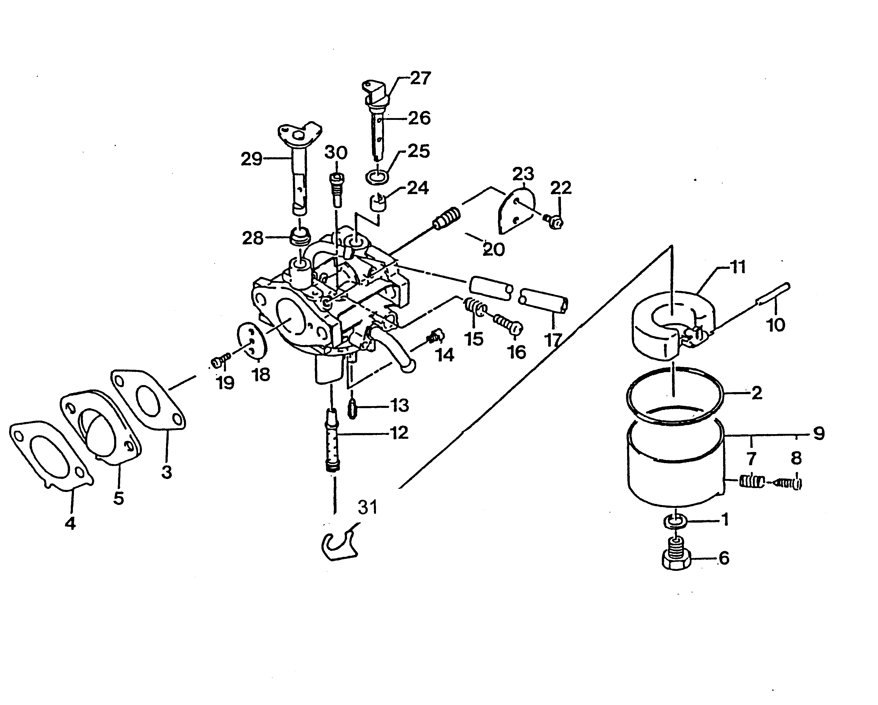
pos.
descripción
Número de pieza
1
Seal
2096 501
2
Seal
2096 502
3
Seal
2095 450
4
Seal
2095 451
5
Insulator
2090 242
6
Screw
2096 557
7
Spring
2096 574
8
Bowl Drain Screw
2096 559
9
Chamber-Float
2096 528
10
Pin-Counterweight
2096 570
11
Float-Carburetor
2090 465
12
Nozzle Jet
2096 552
13
Kit-Idle Mixture
2095 452
14
Main Jet
2090 462
15
Spring
2096 574
16
Screw
2090 461
17
Line-Fuel
2096 581
18
Throttle Valve
2096 529
19
Screw
2096 560
20
jet-air, 0,9
2096 530
22
Screw
2090 452
23
Flap Choke
2096 532
24
Retainer-E Ring
2096 565
25
Gasket
2096 577
26
Choker Shaft
2095 455
27
Retainer-E Ring
2096 566
28
Shell
2090 460
29
Throttle Shaft
2090 457
30
jet-pilot, 45
2096 572
31
ring-snap
2096 567
***
Carburetor
2096 527
Wolf
Handtools
Hedge-shears
Secateurs
Grass-shears
Loppers
Tree Lopper
Tree care
Illumination, Ambiance
Battery-shears
Shredders
Saws
Grass-Trimmers
Reel-mowers
Spreaders / Portax
Irrigation
Scarifiers / Aerators
Mowers
Accu
Petrol
Without drive up to 42 cm
Without drive from 43 cm on
series 2
series 4
series 6
Concept
Concept 43 B
Concept 43 B
Concept 43 B
Concept 47 B
Concept 43 B
Concept 43 B PP
Concept 43 B
Concept 43 K "KIR"
Data Sheet
Chassis
Axle, Wheels, Height-adjustment
Motor, Frame, Blade
Handlebar compl.
Grass collector Concept
FC 150 V
Cylinder assembly, Sump bases
Crankshaft, Piston, Con-rod, Valves
Carburetor
Flywheel, Electrical, Control
Fuel tank
Covers, Air cleaner, Muffler
Blower housing, Brake
Premio
Esprit
Others
Drive up to 42 cm
Drive from 43 cm on
Electric start / Touch 'n Mow
Electro
Ride-on Mowers
Petrol engines
Optional extras
Condiciones
(C) by motoruf